Dicas do Zébio

Áudio, eletrônica, natureza e +, por Eusébio Pizutti
  • Inicial
  • Eletrônica
  • Manutenção
  • Tecnologia
  • Vivendo
Inicial > FILAMENTO LED – Conheça e compare – Parte 2 > Fig99-BulboLedisong2-EP2535640A1

Fig99-BulboLedisong2-EP2535640A1

Deixe um comentário Go to comments

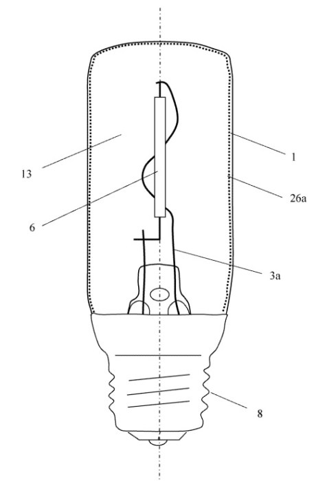
Figura 99 - Lâmpada de um filamento LED da patente da Ledisong, semelhante aos modelos atualmente comercializados. Fonte: Google Patents [270].

Figura 99 – Lâmpada de um filamento LED da patente da Ledisong, semelhante aos modelos atualmente comercializados. Fonte: Google Patents [270].

Fig98-BulboLedisong-EP2535640A1
Fig100-FLEDsLedisong-EP2535640A1
Comentários (0) Deixe um comentário
  1. Nenhum comentário ainda.
  1. No trackbacks yet.

Colabore para melhorar este texto Cancelar resposta

Este site utiliza o Akismet para reduzir spam. Saiba como seus dados em comentários são processados.

FILAMENTO LED – Conheça e compare – Parte 2
RSS feed
  • Google
  • Youdao
  • Xian Guo
  • Zhua Xia
  • My Yahoo!
  • newsgator
  • Bloglines
  • iNezha

Posts & páginas populares

  • DICA – Quando a raquete mata-mosquitos vibra
  • TÉCNICA – Conserto de fonte bivolt XBOX compatível
  • TÉCNICA – Plásticos VII – Conserto de interruptor de parede, de embutir
  • TÉCNICA – Conserto e funcionamento de raquete mata-mosquitos
  • PROJETO – Fonte de alimentação CC profissional 0-40V, 0-4A
  • DICA – XBOX ligado em fonte ATX
  • DICA – Como endereçar cartas e encomendas
  • TÉCNICA - Conserto de fonte chaveada com saída variável de 12 até 24V
  • TÉCNICA – Conserto da fonte de XBOX 360 S (Slim) que foi ligada em 220V
  • TÉCNICA – Conserto de Adega Climatizada Eletrônica

Estatísticas do blog

  • 3.849.162 cliques

Quadrinhos

Quadrinhos

  • Avatar de eusebiop eusebiop
Topo
Blog no WordPress.com.
  • Comentário
  • Assinar Assinado
    • Dicas do Zébio
    • Junte-se a 661 outros assinantes
    • Já tem uma conta do WordPress.com? Faça login agora.
    • Dicas do Zébio
    • Assinar Assinado
    • Registre-se
    • Fazer login
    • Copiar link curto
    • Denunciar este conteúdo
    • Ver post no Leitor
    • Gerenciar assinaturas
    • Esconder esta barra