DICA – Conheça e conserte os ventiladores de teto
Num dia muito quente, você liga o ventilador de teto e… nada. Tem energia elétrica, mas o motor do ventilador não dá qualquer sinal de vida. Ou apresenta qualquer destes defeitos:
– Ventilador funciona lentamente ou não funciona, em todas as velocidades;
– Não começa a girar, mas com uma “ajudinha”, ele funciona bem;
– Certas velocidades estão muito baixas ou não funcionam;
– O motor faz zumbido e a hélice pode ser girada faclmente, mas a rotação é livre, não se mantém.
Será que queimou muita coisa?
Estes problemas são muito frequentes e tem uma solução simples, a troca de um capacitor. Esta dica, inclusive, serve para quaisquer aparelhos que utilizem o mesmo tipo de acionamento (motores de indução com capacitor).
Compreenda porque estes motores precisam de um ou mais capacitores para funcionar. Assista vídeos que demonstram os principios de funcionamento envolvidos. E conheça modelos diferentes (para dizer o mínimo) de ventiladores de teto e como eles podem ajudar a economizar energia, tanto no inverno como no verão.
Um alerta
A corrente alternada
Os ventiladores para uso doméstico geralmente utilizam o motor de indução monofásico, que não emprega escovas e que, para funcionar, deve ser energizado com corrente alternada (CA). Por não usar escovas, é um motor silencioso, durável e de baixa manutenção.
Já nos liquidificadores e furadeiras, que devem ser pequenos e precisam de mais força (torque) no eixo, os motores são com escovas. São denominados universais, pois podem funcionar com corrente alternada ou contínua (CA e CC). E o barulho destes é bem conhecido…
A energia elétrica distribuída pelas concessionárias é alternada. A maioria das localidades no Brasil recebe 220VCA (Volt em Corrente Alternada), ao passo que algumas capitais e vizinhanças, por conta dos sistemas legados dos primórdios da eletrificação, operam com rede de 127VCA. Essa distribuição é chamada de rede de baixa tensão, pois atende os consumidores residenciais e o comércio e a indústria de pequeno porte.
Por padrão, a frequência da rede elétrica brasileira é 60Hz (Hertz), o que quer dizer que a polaridade da energia disponível na tomada muda 60 vezes por segundo.
A onda senoidal, que caracteriza a corrente alternada, é formada por ciclos. Cada ciclo tem um pico positivo (crista) e outro negativo (vale), como visto na figura 1.
O ciclo é também chamado de oscilação. O período (T) corresponde à duração de uma oscilação (um ciclo), em segundos. A frequência (f) é o inverso do período:
f=1/T ou T=1/f
Por exemplo, uma senoide que oscila na frequência de 60Hz tem 60 ciclos – 60 cristas e 60 vales – no intervalo de um segundo. O período do sinal de 60Hz é portanto: T=0,16667 segundos.
Entre o começo e o final de um ciclo, há uma diferença de fase de 360º, correspondente a uma volta completa num círculo.
Para compreender melhor a formação de uma onda senoidal a partir do círculo, assista a animação da figura 2. Observe que a origem da seta está sempre no mesmo ponto. A seta gira constantemente e a sua ponta indica a posição angular naquele instante, o que resulta na projeção de duas ondas senoidais, com o passar do tempo (aqui, o tempo é o eixo Z). Estas projeções tem defasagem de 90º e são denominadas, matematicamente falando, de seno e cosseno. O seno é a onda projetada na parede, em vermelho, ao passo que o cosseno é a projeção no chão (azul).
A trigonometria (ver referências [1] até [6]), interessante área da matemática que estuda estes fenômenos a partir do círculo trigonométrico (também chamado de círculo unitário, porque o raio dele é 1, para facilitar os cálculos), está em todo lugar. O padrão senoidal – ou helicoidal, se pensarmos de forma tridimensional – faz parte de nossa vida, para onde quer que olhemos.
Uma nota musical, uma cor, um feixe de raio laser ou uma onda de rádio tem o formato perfeitamente senoidal, quando não há interferências ou modulações. Além da corrente alternada, as radiações de raio X ou de microondas também são senoidais. As fases da lua, as estações do ano, o ciclo solar, o modo de crescimento das plantas, o formato do DNA, a rotação dos planetas, etc., tudo tem como padrão básico a senoide. Tudo vai e volta, tudo evolui como numa espiral, que retorna ao mesmo ponto, só que um pouco além. Em outras palavras: tudo é vibração.
As perturbações sofridas pelas ondulações são externas ao gerador da onda, como por exemplo as interações entre os planetas, que modificam as órbitas ideais dos astros.
O conceito de que tudo é vibração cabe exatamente no princípio mais estudado da matemática e formulado em 1822 pelo matemático francês Jean-Baptiste Joseph Fourier, que diz: “Qualquer forma de onda complexa pode ser construída pela superposição de ondas senoidais puras, harmônicas particulares da onda fundamental” [7]. Falando de outra maneira, Fourier provou que é possível explicar matematicamente qualquer forma de onda periódica (que se repete no tempo), desde uma onda senoidal pura (uma só frequência) até uma onda quadrada (infinitas frequências).
Esta teoria matemática é conhecida como análise de Fourier ou análise harmônica clássica, cujos termos mais comuns são a transformada de Fourier e as séries de Fourier (um caso particular da transformada). Quem quiser aprofundar-se neste assunto, deve ter o conhecimento de cálculo integral e diferencial e poderá consultar as referências [8] a [12]. Na UFPE[11], tem um applet para baixar, que ajuda a compreender as séries de Fourier e na MathWorks[12] pode-se observar de vários modos a evolução da série de Fourier até a onda quadrada.
Quem gostou da animação da figura 2, poderá assistir outras muito interessantes, nas referências [13] a [25]. Selecionei links de diversas origens. Por exemplo, no sítio da Imgur [13] tem várias animações que são citadas na página francesa Atlantico [1], que se propõe a desmistificar a trigonometria para leigos. Vale a pena conferir. A trigonometria será melhor compreendida quando enxergarmos antes as relações entre as funções, do que partirmos logo para a abordagem matemática.
Agora que temos uma ideia da origem da corrente alternada (CA), será necessário compreender o comportamento dos indutores e capacitores, considerando sua ligação em CA. Então estaremos prontos para falar dos motores de indução.
Indutores
Um indutor pode ser constituído de uma certa quantidade de espiras de fio esmaltado sobre um núcleo – de ar ou metálico. A figura 3 mostra um modelo de indutor e na figura 4, aparecem diversos tipos de indutores.
O fio esmaltado é composto por um fio maleável, geralmente de cobre (mais fácil de soldar que o alumínio), coberto com uma camada de esmalte isolante, flexível e resistente a altas temperaturas. O esmalte funciona como a capa de plástico dos fios tradicionais, com a vantagem de diminuir o espaço entre as espiras adjacentes. A camada de esmalte deve ser removida para permitir a conexão elétrica das extremidades do indutor.
Um enrolamento de motor elétrico é um indutor. A indutância de uma bobina – medida em Henry – aumenta com a presença de núcleo (especialmente o ferroso) e com a maior quantidade de espiras.
Indutores tem como característica não aceitar mudanças bruscas de corrente. Este comportamento é chamado de reatância, que é medida em ohm (reatância indutiva, para os indutores). Portanto, os indutores atrasam a corrente CA em relação à tensão. A reatância indutiva diminui se reduzirmos a indutância ou diminuirmos a frequência.
Além do indutor apresentar uma inércia para a corrente atravessá-lo, há a tendência dele continuar conduzindo após o desligamento, em razão da energia armazenada no enrolamento.
Esta característica é usada, por exemplo, nas bobinas de ignição de automóveis, que geram a faísca para as velas no instante do desligamento do enrolamento primário, seja através do chaveamento com o antigo platinado ou com a atual ignição eletrônica.
Se não for utilizada (consumida) a energia armazenada no indutor ao desligá-lo, ela irá dissipar-se rapidamente no componente.
Para os sinais em corrente alternada, indutores comportam-se como filtros passa-baixas, pois bloqueiam as frequências acima da frequência de corte. Frequência de corte é aquela a partir da qual o indutor começa a atenuar o sinal que o percorre. A razão de atenuação de um indutor é de 6dB/8a (6 decibéis por oitava), conforme a frequência vai aumentando. Uma oitava acima quer dizer o dobro da frequência inicial.
Capacitores
Sob certos aspectos, o capacitor é o complemento do indutor, pois apresenta o comportamento inverso (as curvas de tensão e corrente deles são uma o contrário da outra).
O capacitor é formado por duas placas (armaduras), isoladas por um dielétrico (que pode ser de ar ou qualquer outro material isolante), como vemos no modelo da figura 5. Quanto maiores ou mais próximas forem as armaduras, mais alta é a capacitância (capacidade de manter carga elétrica).

Figura 8 – Capacitor multicamadas aberto, em detalhe. Pode-se perceber a folha de filme plástico rasgada no canto inferior direito do capacitor, deixando aparecer a camada inferior.
Os dielétricos empregados são muito variados e estão em constante evolução. Os capacitores despolarizados podem usar cerâmica, mica, papel, vidro e, principalmente, filmes plásticos (poliéster, poliestireno, policarbonato, polipropileno, teflon). Também são fabricados, ainda hoje, capacitores com dielétrico de papel e óleo e de papel e cera. O material do dielétrico influi nas perdas que o capacitor irá apresentar, bem como determina a temperatura máxima admissível.
As armaduras podem ser feitas com finas folhas metálicas (de cobre, alumínio, ouro ou prata), ou pela vaporização de algum destes metais na superfície do dielétrico (metalização). A espessura do material condutor da armadura determina a robustez do componente e o comportamento em caso de sobrecargas (alguns modelos tem auto-recuperação, que será visto em seguida). Para conhecer melhor os processos de metalização, acesse o artigo da Thomasnet [27], em inglês.
Para obter maior capacitância, além da redução da espessura do dielétrico, aumenta-se a área das placas. Isto pode ser conseguido através do empilhamento de várias camadas de armaduras e dielétricos planos (figuras 6, 7 e 8), ou com o bobinamento de tiras (cintas) destes materiais (figuras 9, 10 e 11).
Para uso em altas frequências, o tipo multicamadas é o mais adequado, porque apresenta menores indutâncias parasitas. Capacitores cerâmicos, de mica, SMD e certos modelos de filmes plásticos são montados desta maneira.
Para os capacitores trabalharem com altas tensões, as camadas podem ser metalizadas parcialmente, formando dois ou mais capacitores em série na mesma peça, como é possível ver na figura 12. Conforme a configuração escolhida para melhorar o isolamento, pode resultar em uma deformação no corpo do componente, por causa da falta de material naquele trecho.
Por isto que o capacitor da figura 13 tem uma valeta no meio do invólucro, correspondente a uma área sem a camada de alumínio. A ligação em série de capacitores e a maior distância entre os eletrodos aumentam a tensão máxima admissível pelo componente. Na Wikipedia [28] tem um texto sobre as configurações possíveis para altas tensões.
E um artigo da Wima [29] mostra as variações da forma construtiva de capacitores para uso com pulsos (tipicos em circuitos chaveados, como fontes de computadores e inversores).
Há uma variedade muito grande de capacitores atualmente no mercado. Na figura 14, aparecem alguns modelos de capacitores de valor fixo, despolarizados. Nas referências [30] a [34] há mais informações sobre os capacitores de filme plástico. Na Radio Electronics [35], você pode conhecer os capacitores de mica prateada.
Para se ter uma ideia dos processos envolvidos na fabricação de capacitores, a referência [36] traz a Birkelbach, um grande fabricante europeu de filmes metalizados para capacitores. E a Intechopen [37] comenta os avanços em materiais para dielétricos, onde já despontam as nanopartículas.

Figura 14 – Capacitores não polarizados de diversos tipos (cerâmico, mica, óleo, papel, cera, plate, poliestireno, poliéster, polipropileno, etc.)
Outros capacitores muito comuns são os eletrolíticos, que tem internamente uma solução eletrolítica, daí o nome. Devido às características construtivas, são polarizados, pois o dielétrico costuma ser formado por um óxido metálico. Há capacitores eletrolíticos de tântalo, nióbio e alumínio.
Estes últimos são mais baratos e por isto mais populares (figura 15). Eles tem como dielétrico uma fina camada de óxido de alumínio (isolante), depositada sobre uma folha do mesmo metal. Esta folha de alumínio compõe o polo positivo do capacitor. Há também outra folha do mesmo metal, sem qualquer tratamento químico, que forma, junto com o eletrólito, o polo negativo.
O eletrólito é um fluido condutor de eletricidade, com viscosidade semelhante a um óleo, geralmente composto por ácido bórico ou borato de sódio. As duas folhas de alumínio formam um sanduíche com folhas de papel, embebidos na solução eletrolítica, sendo o conjunto enrolado sobre si mesmo, encapsulado e selado hermeticamente. Por isto que todo capacitor eletrolítico de alumínio é montado numa caneca e vedado com um tampão de borracha, como é possível perceber no capacitor radial das figuras 16 a 19.
Os eletrolíticos costumam ter duas classes de temperatura máxima de trabalho: 85ºC e 105ºC. Este limite, impresso no corpo do capacitor, não deve ser utrapassado, sob risco de dano permanente. Além do contato com temperatura externa elevada, os capacitores eletrolíticos podem aquecer perigosamente se forem submetidos a outras condições: inversão de polaridade, tensão maior que a admissível e operação em altas frequências (ciclos muito rápidos de carga e descarga).
Para estas situações de sobrecarga, que podem causar seu estufamento e até a explosão, o capacitor eletrolítico tem uma proteção tipo válvula de escape. No topo da caneca, o alumínio tem ranhuras, cuja espessura é menor que o restante do invólucro. Outro tipo de válvula de escape é um orifício no tampão de borracha, comum em capacitores da linha industrial. Quando o componente esquenta e estufa, as ranhuras (ou o orifício) rompem, pois são mais frágeis, expelindo o eletrólito. É bem típico de ocorrer quando ligam uma fonte chaveada de 110V em 220V, sem trocar a chave (como nas fontes de PC) ou quando o aparelho não é 220V, como neste post do XBOX…

Figura 15 -Capacitores eletrolíticos diversos. As setas indicam as válvulas de escape. Os capacitores que formam as duas linhas inferiores da foto são de tântalo.

Figura 18 – Capacitor eletrolítico de alumínio sem a caneca. Observe a fita adesiva que envolve o papel embebido no eletrólito.

Figura 19 – Capacitor eletrolítico de alumínio desenrolado. Observar a folha interna, mais opaca (tem óxido de alumínio na superfície).
Por causa do eletrólito líquido, quando os capacitores eletrolíticos vazam devem ser substituídos imediatamente, além da obrigatória limpeza da placa de circuito impresso. É que a solução oleosa é condutora de eletricidade e corrosiva e quanto mais tempo passa, menores as chances de recuperação do aparelho.
Uma característica interessante dos capacitores eletrolíticos de alumínio é que eles podem ser recuperados. Se não houve vazamento de eletrólito nem curto-circuito, deixá-los por vários dias ligados a uma fonte de baixa tensão fará com que a a camada de óxido metálico do dielétrico se regenere. Era um costume muito frequente no conserto de rádios valvulados, pois na época o acesso aos componentes era bem mais difícil e tentava-se a recuperação a todo custo.
Para mais detalhes, consulte o artigo “The Lazarus Capacitor” [38], que mostra como montar um recuperador de eletrolíticos. A revista Antenna, na edição de março de 1978, também publicou um artigo sobre o assunto, que mostra como montar um medidor de corrente de fuga e recuperador de eletrolíticos. É possível conseguir a revista em DVD, em Antenna Edições Técnicas [39].
Mais informações sobre os eletrolíticos podem ser consultadas em um excelente trabalho sobre estes componentes, do professor Ewaldo Mehl, da UFPR [40]. O sítio Manutenção e Suprimentos [41], com um texto de Renata Branco, complementa com outras informações.
Então, os capacitores armazenam energia entre as placas. São quase como as pilhas, mas estas geram energia através de processos químicos, ao passo que os capacitores funcionam somente como um reservatório. Já são fabricados os ultra-capacitores (ultracaps), que tem capacidades altíssimas e podem funcionar, em alguns casos, como baterias rapidamente carregáveis.
Os ultra-capacitores costumam ser utilizados na sonorização de automóveis, de forma a auxiliar a tensão para os amplificadores, quando a bateria está longe deles. Também são empregados nos equipamentos em que é necessária grande autonomia após desligada a energia, como alguns sistemas embarcados de caminhões.
Em CA, capacitores atrasam a tensão em relação à corrente.
Supondo um capacitor completamente descarregado, ao ser submetido a algum potencial, ele inicialmente absorverá toda a corrente possível, consequentemente dificultando a elevação da tensão. Aqui, a inércia é para a tensão, por isto o atraso.
Do mesmo modo que o indutor, a reatância do capacitor é medida em ohm (reatância capacitiva). A reatância capacitiva diminui conforme aumenta a capacitância (em Farads) ou a frequência (em Hertz).
Além disso, os capacitores são filtros passa-altas, isto é, abaixo da frequência de corte, atenuam o sinal na razão de 6dB/8a.
Capacitores tendem a manter a tensão entre as placas, pois elas ficam carregadas com a energia existente no instante anterior ao desligamento. Se a corrente de fuga do capacitor for muito baixa, a carga poderá durar dias.
Por isto é que algumas aplicações de capacitores necessitam de um resistor de descarga em paralelo, como nos filtros contra interferência eletromagnética (IEM), presentes no circuito de entrada da rede elétrica de todo equipamento eletrônico moderno que se preze. Se não houver algum modo de descarregar estes capacitores, pode-se levar um forte choque elétrico ao tocar os pinos do plugue, depois de desligado da tomada.
Auto-recuperação de capacitores
Uma característica importante dos capacitores de filmes plásticos é a sua capacidade de auto-recuperação (self-healing), em caso de ruptura do dielétrico. Estes capacitores não ficam em curto-circuito (não “queimam”).
Há inclusive capacitores que garantidamente nunca apresentarão curto-circuito, pois a segurança dos aparelhos onde são instalados depende disto. É o caso dos capacitores da classe X, comumente encontrados na entrada da rede elétrica de qualquer aparelho eletrônico atual.
– Mas como é possível a auto-regeneração?
Ocorre que a camada de metal vaporizado sobre o filme plástico é tão fina que, se ocorrer um arco elétrico entre as armaduras, perfurando o dielétrico, as películas metálicas evaporarão, formando uma área sem revestimento condutor ao redor da perfuração e isolando novamente a região, como mostram as figuras 20 a 22.
A Powerguru [43] mostra a auto-recuperação dos capacitores metalizados, de maneira didática e detalhada (figura 20). Conforme o artigo, as camadas metalizadas, depositadas a vácuo diretamente sobre o filme plástico, tem somente 20 a 50 nm (nanômetros) de espessura. Se a intensidade do campo elétrico excede o limite do dielétrico nalgum ponto mais frágil, ocorre a sobrecarga, formando um canal.
No canal de sobrecarga, as altas temperaturas atingidas (até 6000ºK), transformam o dielétrico em plasma altamente comprimido, o que força sua expansão (formando a bolha). O finíssimo revestimento de metal nas imediações do canal de sobrecarga é totalmente evaporado pela interação com o plasma, em direção esférica, para longe da descarga. A rápida expansão do plasma causa seu resfriamento (gás em expansão resfria) após alguns microssegundos, extinguindo a descarga antes de ocorrer uma perda de tensão apreciável. A região isolada resultante da descarga possibilita que o capacitor continue a ser utilizado normalmente.
Apesar do capacitor continuar funcionando, sua capacitância diminui um pouco a cada sobrecarga. Se isto aconteçer seguidamente, chegará um momento em que o capacitor só terá uma fração de seu valor original.
É o que acontece nos motores de ventiladores, que geram frequentemente elevados surtos de tensão sobre os capacitores do circuito, levando a defeitos depois de poucos anos de uso.
Geralmente, estes surtos são criados durante o acionamento das chaves de controle do ventilador, especialmente a de velocidade. Quem já não viu uma forte faísca sair do interruptor, ao acioná-lo? É aquele problema de desligar o indutor, visto há pouco. Assim, não adianta acionar os interruptores do ventilador devagar ou rápido, os surtos irão acontecer sempre.
Por isso, ao primeiro sinal de defeito em aparelhos eletrônicos, o problema poderá estar num simples capacitor aberto. Como foi o caso da cafeteira Philips Senseo, mostrado em outro post. Mais detalhes sobre o processo de auto-recuperação pode ser encontrado nas referências [42] a [44]. A ERA Technology [44], por exemplo, tem um artigo que aborda as falhas em capacitores de polipropileno metalizado, com ilustração detalhada do processo.
E para conhecer mais sobre capacitores em geral, além das referências mencionadas desde [26], consulte os fabricantes Epcos [45], Wima [46] e Vishay [47], que tem diversos textos em inglês sobre este assunto. Se preferir um texto em português, visite a excelente página de PY2BBS [48].
Agora que conhecemos um pouco os capacitores e os indutores, vamos ver o comportamento deles ligados em conjunto.
Ressonância
Como visto acima, a reatância do capacitor ou do indutor é uma característica que depende da frequência. A resistência, por sua vez, é independente da frequência. A impedância de um componente é a soma de sua reatância e resistência e portanto, não tem um valor único, pois também varia com a frequência. Por exemplo, os alto-falantes apresentam a impedância de 2, 4 ou 8 ohm sempre baseados em uma frequência padrão de teste (1KHz).
Quando temos um indutor L e um capacitor C ligados em série, cujas reatâncias sejam iguais em determinada frequência, ocorre a chamada ressonância. Nesta frequência, as reatâncias capacitiva e indutiva cancelam-se mutuamente, fazendo o circuito LC apresentar comportamento puramente resistivo.
Isto acontece porque a reatância capacitiva é maior abaixo da frequência de ressonância e a reatância indutiva é maior acima da frequência de ressonância. Ou seja, em frequências baixas o capacitor dificulta a passagem do sinal e em frequências altas o indutor é que se opõe. Na frequência de ressonância, as reatâncias anulam-se e sobra a resistência do conjunto.
Teoricamente, o pico da ressonância seria infinito, caso a resistência fosse nula, o que nunca acontece, pois sempre há alguma resistência intrínseca. Por isso é que nos textos que abordam este assunto, geralmente é considerada uma resistência R, formando o conjunto RLC.
Assim, na frequência de ressonância, o circuito RLC série apresenta um pico na sua amplitude, que tem a forma determinada por R (figura 23). É o fator de mérito Q. Um alto fator de mérito implica em estreita banda passante (circuito mais seletivo, que deixa passar poucas frequências), ao passo que o baixo fator de mérito resulta em banda passante maior (menos seletivo).
Com a resistência de valor menor, o pico é estreito e elevado (alto Q), ao passo que com R mais alto, o pico da ressonância é mais alargado e achatado (baixo Q).
Quando as reatâncias do capacitor e indutor em série não são iguais, há alguma diferença de fase entre tensão e corrente. Esta diferença é empregada nos motores monofásicos, tanto para dar a partida quanto para variar a velocidade, como veremos a seguir.
O MOTOR DE INDUÇÃO
Conceitualmente, um motor é uma máquina elétrica que transforma energia elétrica em energia mecânica, por meio de campos magnéticos variáveis. É constituído por uma parte fixa (o estator) e uma parte móvel (o rotor), que apoiado em mancais, transmite o movimento de rotação para o eixo. Em nosso caso, as pás do ventilador são acopladas diretamente a este eixo.
Boa parte dos ventiladores à venda nas lojas são fabricados com motores de indução, com ou sem capacitor acoplado. Os ventiladores de teto, geralmente utilizam motores com capacitores permanentes. Os menores, utilizam motores de polo sombreado, que são tecnicamente mais simples e também menos eficientes.
O motor de indução utiliza a variação constante da polaridade da corrente alternada para criar um campo magnético girante, no qual fica imerso o rotor, que por causa disto irá rodar em determinado sentido. Não há qualquer ligação elétrica com o rotor, por isto é que são chamados de motores de indução, pois o estator induz uma tensão no rotor, que provoca seu giro. São muito silenciosos e robustos.
Estes motores são chamados de assíncronos, pois a velocidade de rotação do rotor é menor que a velocidade de rotação do campo girante. Em outras palavras: o giro do rotor não está sincronizado com o giro do campo magnético do estator (há determinado percentual de escorregamento).
O campo magnético girante
O campo magnético girante ou rotativo nada mais é do que a troca constante de polaridade dos polos em um estator, num determinado sentido.
A velocidade do campo girante também é chamada de velocidade de sincronismo, que é a frequência da rede elétrica (60Hz no Brasil).
A velocidade do campo girante – e por consequência a velocidade do motor – pode ser alterada se alimentarmos o motor com frequência distinta daquela da rede elétrica.
É uma tarefa desempenhada pelos inversores de frequência (inverter) que, para estes casos, podem fornecer frequências entre 0 e 400Hz. Estes equipamentos podem ser alimentados por rede monofásica e entregar saída trifásica, mas ainda tem um custo elevado. E é assunto para ser detalhado em outro momento.
Se quisermos ver a ação do campo rotativo, colocamos uma bússola dentro de estator ligado em corrente alternada. Ela seguirá a direção deste campo, porque o polo para o qual ela é atraída sempre estará mudando de lugar, num determinado sentido. A agulha acompanhará o campo girante na mesma velocidade. Neste caso, a velocidade da agulha estará sincronizada com a velocidade do campo girante. Mesmo que o campo magnético desloque-se muito lentamente, a agulha continuará acompanhando o campo. É o princípio de atuação dos motores síncronos [50] e geradores síncronos [51].
![Figura 24 – Bússola acompanhando o movimento do campo girante. Fonte: Wind Power [51].](https://dicasdozebio.com/wp-content/uploads/2014/12/fig24-compmotr.gif?w=595)
Figura 24 – Bússola acompanhando o movimento do campo girante. Caso a agulha não esteja girando, tecle F5 e aguarde. Fonte: Wind Power [51].
Outra forma, mais didática, de criar um campo magnético rotativo é girar um ímã permanente, como demonstra o vídeo a seguir. Aqui, não utilizaremos uma bússola, mas um disco de alumínio, para demonstrar também o princípio do motor de indução. É o disco de Arago.
É bem simples para qualquer um fazer em casa. No experimento, eu dispunha de um imã em forma de U, mas nada impede que seja um imã reto ou dois pequenos ímãs, montados com polos um ao contrário do outro nas extremidades de uma tira metálica, por sua vez presa a um eixo. O disco e o ímã são independentes, cada um tem o seu próprio eixo livre. O eixo do ímã deve permitir acionamento manual, como visto no vídeo.
Se as linhas do fluxo magnético em movimento, criadas pelo giro do ímã, são cortadas por um disco livre, condutor de eletricidade, este seguirá o movimento do imã, mas de um modo diferente. No disco, o efeito é o contrário da bússola: temos repulsão, ao invés de atração. Para conseguir movimentar o disco, é necessária alguma velocidade na rotação do ímã.
As linhas de fluxo cortadas pelo condutor induzem uma tensão no disco, com o consequente fluxo de corrente (ver correntes de Foucault, em [52][53]). Este fluxo de corrente cria um eletroímã cuja polaridade opõe-se ao movimento do ímã permanente (lei de Lenz). A polaridade do eletroíma, assim, afasta-o do ímã.
Se você não acredita que o simples disco de alumínio desenvolva tensões em sua superfície, dê uma olhada neste outro vídeo (figura 26), que mostra como fazer a medição com dois instrumentos ao mesmo tempo. Observe que somente liguei um multímetro e um osciloscópio, diretamente em quaisquer dois pontos do disco, diametralmente opostos. Se tivesse colocado entre o eixo e a extremidade, a tensão gerada seria a metade. Tanto o multímetro como o osciloscópio estavam ajustados na sensibilidade máxima. Neste experimento é gerada corrente alternada.
Inclusive, esta experiência parece desconsiderar o paradoxo de Faraday [54], um assunto ainda hoje controverso. O paradoxo diz que com o disco parado não é gerada nenhuma tensão, só com ele em movimento. Obviamente, a geração de energia é ínfima, mas suficiente para nosso propósito, de demonstrar sua existência. Poderiam ser feitas outras experiências, como medir as tensões em cada uma das superfícies (não como fiz, onde a garra jacaré toca os dois lados do disco). Tem a página de um italiano, Domenico di Mario (não é o di Mazzi), que traz outros experimentos (e perguntas) sobre este assunto, no texto “A estranha bola” [55].
Hum, leitor ou leitora, continua achando que não é possível? Então eu o desafio a construir o disco de Faraday, que tem quase a mesma configuração apresentada no vídeo acima. É que no experimento de Faraday, quem é girado manualmente é o disco e o ímã fica parado.
Além disso, a configuração de Faraday conta com mais um pequeno recurso: conecta-se o eixo e a borda do disco a escovas que o tocam levemente, para não dificultar o movimento. As escovas são ligadas a dois fios e vão para um galvanômetro, que indicará a tensão quando o disco girar. Neste caso, é gerada corrente contínua. Acesse mais informações no Móstoles Museo [56] e na Universidade do Porto [57].
Voltando ao nosso disco. O torque desenvolvido pelo disco é proporcional ao número de linhas de fluxo magnético (intensidade do campo magnético) e à taxa com que elas são cortadas pelo disco (percentual de escorregamento).
Se o disco girar à mesma velocidade do ímã permanente (sem escorregamento), não haverão linhas de fluxo magnético cortadas pelo disco, nem fluxo induzido de corrente, nem torque.
Assim, a velocidade do disco estará sempre atrás da rotação do ímã (assíncrona), pois as linhas de fluxo cortadas pelo disco induzem uma corrente e criam um campo eletromagnético no disco, que seguirá o ímã. Se uma carga for aplicada ao disco, reduzindo sua rotação, mais torque será desenvolvido e mais linhas de fluxo cortarão o disco. Portanto, mais escorregamento corresponde a mais linhas de fluxo cortadas pelo disco condutivo, desenvolvendo mais torque.
Os velocímetros analógicos dos automóveis (figura 27) são baseados exatamente no princípio ilustrado acima. Com o movimento do disco restringido por uma mola, um ponteiro fixado ao disco apresentará uma deflexão proprocional à rotação do magneto (ímã), indicando a velocidade. O magneto acoplado ao disco (sem tocá-lo) é conectado diretamente ao eixo de alguma roda ou na saída da transmissão. Em motocicletas, por exemplo, é fácil de perceber o cabo de conexão do velocímetro, junto da roda dianteira. Mais informações sobre os velocímetros para automóveis, acessar o Sapiensman [58] e a página “De Maquinas Y Herramientas” [59].
O fato de girar um ímã, faz criar um campo magnético com característica senoidal no seu entorno, que se desloca espacialmente. Vamos ver isto de outra maneira, para completar a explicação de campo girante.
Figuras de Lissajous
Podemos visualizar a formação de um campo giratório através das figuras de Lissajous. Para enxergá-las, precisaremos de um osciloscópio, um gerador de onda senoidal, um resistor de 680 Ohm e um capacitor de 4 uF, além da fiação para interligar tudo.
O osciloscópio é um intrumento para visualizar numa tela as formas de onda, cujos eixos normalmente marcam o tempo (horizontal) e a amplitude (vertical) do sinal de entrada. Geralmente o osciloscópio tem dois ou mais canais de entrada, o que possibilita utilizá-lo para mostrar a amplitude em ambos os eixos da tela. É o modo XY, onde um canal é mostrado no eixo horizontal (X) e o outro no vertical (Y).
O gerador de onda senoidal pode ser um transformador, ao invés de um gerador de áudio, apesar de introduzir na onda a distorção da rede elétrica. O capacitor é utilizado para criar a defasagem de 90º, ao passo que o resistor impõe uma pequena carga ao circuito, de modo a garantir a diferença entre os sinais.
A configuração utilizada para visualizar as figuras de Lissajous aparece na figura 28, baseada numa experiência do laboratório de física do ITA – Instituto Tecnológico da Aeronáutica [60]. Esta forma de ligação traz o inconveniente de ser sensível à frequência de 60Hz da rede elétrica, já que o chassis do osciloscópio não é ligado diretamente com o do gerador. Por isto, a frequência ideal para esta experiência é 60Hz, que pode ser providenciada por um pequeno transformador de 12VCA, por exemplo. Mas, conforme a distorção dos sinais senoidais, o círculo resultante poderá não ser perfeito.
Outras formas de ligação vistas na internet não conseguem efetuar a defasagem exata de 90º, o que resulta sempre numa elipse na tela, qualquer que seja o ajuste efetuado nas entradas X e Y.
No video a seguir, uma figura circular é produzida na tela do osciloscópio, através da injeção de dois sinais senoidais nas entradas horizontal (X) e vertical (Y), um deles defasado em 90º. Para conseguir o círculo, é necessário igualar a amplitude dos dois sinais nas entradas do osciloscópio. Se a defasagem for exatamente 90º, o círculo ficará perfeito, caso contrário, será uma elipse.
Relembrando da trigonometria vista há pouco: estamos alimentando o osciloscópio com o seno e o cosseno de um sinal senoidal, o que gera aquele círculo na tela. Se reduzíssemos a frequência do sinal para perto de 1Hz, seria possível ver um ponto desenhando lentamente o círculo. É exatamente o contrário da figura 2: agora, os sinais é que geram o círculo.
Na verdade, o círculo é uma helicoide, mas estamos vendo ela do topo. Se tivéssemos a variável tempo num terceiro eixo, inclinado (Z, a profundidade), enxergaríamos a helicoide (rever figura 2). Já a figura 30 mostra as entradas X e Y alimentadas com sinais idênticos em amplitude e fase, que resulta numa reta inclinada na tela.
![Figura 31 – Curvas de Lissajous. A legenda da esquerda mostra a relação entre as frequências de entrada, e a de cima a defasagem relativa entre os sinais. Fonte: Fizyka-lo[61].](https://dicasdozebio.com/wp-content/uploads/2014/12/fig31-lissajous_2.jpg?w=595&h=262)
Figura 31 – Curvas de Lissajous. A legenda da esquerda mostra a relação entre as frequências de entrada, e a de cima a defasagem relativa entre os sinais. Fonte: Fizyka-lo[61].
Para quem quiser conhecer melhor as curvas de Lissajous, poderá injetar nas entradas do osciloscópio sinais de frequências diferentes entre si, o que resultará em imagens bem interessantes (figura 31).
Há também formas de construir estas imagens com alto-falantes ou motores, que acionam espelhos que refletem um raio laser. Tem alguns textos práticos sobre isso, como por exemplo o do blog Feira de Ciências [62] e o da UFMG [63]. E há um material bem didático na página da Exploratorium [64], com todas as informações para montar esta e outras experiências [65].
Bom, já desviei bastante do assunto, voltemos aos motores.
Tipos de motores de indução
O motor de indução mais eficiente é alimentado com energia trifásica, pois apresenta um conjugado de partida (força de arranque) elevado e não necessita de circuito auxiliar para começar a girar.
Motores de indução trifásicos criam um campo magnético naturalmente girante, por causa dos 120º de defasagem existentes entre cada uma das 3 fases (figura 32). Nestes motores, os polos do estator estão fisicamente posicionados a 120º um do outro. A figura 33 mostra o enrolamento do estator num motor trifásico, onde cada cor de fio representa uma fase. O vídeo da figura 34 traz uma animação que explica o funcionamento destes motores. É uma versão em espanhol da página Learning Engineering [69].
![Figura 32 – Gráfico ilustrativo de 3 ondas senoidais presentes nos polos da rede elétrica trifásica (R, S e T). Fonte: Waldecks Homepage [66].](https://dicasdozebio.com/wp-content/uploads/2014/12/fig32-sine-3.png?w=595&h=275)
Figura 32 – Gráfico ilustrativo de 3 ondas senoidais presentes nos polos da rede elétrica trifásica (R, S e T). Fonte: Waldecks Homepage [66].
Existem motores trifásicos para todas as faixas de potência. Já os motores monofásicos dificilmente vão além de 10 cv (cavalo-vapor ou HP = horse-power) e são em média 4 vezes maiores e mais pesados que os trifásicos, considerando a mesma potência.
Apesar de consumirem 20% a mais que os trifásicos, os modelos monofásicos tem facilidade de ligação, o que os torna apropriados para uso doméstico, rural e para o pequeno comércio, lugares onde a instalação elétrica geralmente é monofásica.
No entanto, os motores de indução monofásicos precisam implementar outras soluções, para conseguir tornar o campo girante. Por serem alimentados com uma só fase, o campo magnético gerado é somente pulsante, o que impede a criação de um conjugado de partida (força de arranque), pois os campos induzidos no rotor estão alinhados com os campos do estator. Neste caso, o único efeito observado é um forte zumbido.
Portanto, os motores de indução monofásicos não arrancam por si mesmos.
Isto implica na existência de algum tipo de ajuda para iniciar a rotação. Este circuito auxiliar tenta criar, de alguma forma, um campo magnético defasado em relação à alimentação, o que virtualmente transforma o motor em bifásico. Depois de iniciar a rotação, o motor pode continuar a funcionar com uma só fase, pois mesmo que o circuito de arranque seja desligado, o rotor continuará girando.
Alguns circuitos auxiliares de partida podem implicar num surto inicial de corrente 5 a 10 vezes maior que a corrente nominal do motor. Por isto que os motores monofásicos dão aquele “tranco” inicial na luz, ao serem ligados. Isto obriga a prever, na instalação destes motores, o excesso momentâneo de corrente, para evitar desligamentos indevidos dos disjuntores de proteção.
Conforme a arquitetura utilizada para auxiliar o arranque, os motores de indução monofásicos podem ser classificados em dois grandes grupos. No primeiro, a defasagem é conseguida através de alterações elétricas no percurso do sinal de alimentação e por uma disposição bem específica das bobinas. São os motores com 2 enrolamentos (principal e auxiliar).
No segundo grupo, dos motores de polos sombreados, a fase da corrente é modificada através de alterações construtivas dos polos do motor.
O motor com 2 enrolamentos (figura 35), durante a operação normal, fornece o torque ao rotor através do enrolamento principal. O enrolamento auxiliar (ou secundário, ou de arranque, ou de partida) tem função somente para o arranque inicial, pois torna o campo girante. A Learning Engineering [70] explica de modo muito didático o funcionamento do motor monofásico, no vídeo da figura 36, uma pena que a narração esteja em inglês. De todo modo, é até bom para treinar a língua, pois os termos técnicos falados aparecem escritos no vídeo.
Para visualizar os 2 enrolamentos de forma mais clara, em um motor comercial, a figura 37, extraída de um catálogo da WEG, mostra dois defeitos diferentes em motores monofásicos, causados por sobreaquecimento. O da esquerda é no enrolamento principal e o da direita, no auxilar. Percebe-se que cada bobina é espalhada por várias ranhuras. Neste caso, os motores são de dois polos (cada enrolamento está montado em duas posições diametralmente opostas).
Para uniformizar as denominações. Encontrei em alguns trabalhos sobre motores a substituição do termo enrolamento por fase, como por exemplo: enrolamento auxiliar é a mesma coisa que fase auxiliar. Neste texto, utilizo o termo enrolamento ou bobina, para não confundir com a fase do sinal elétrico.
Em motores com enrolamentos principal e auxiliar, o campo magnético girante é criado posicionando os enrolamentos no estator, deslocados 90º um do outro, como visto acima, e alimentando um deles com alguma defasagem de corrente. Há diversas formas de fazer isso: com o motor de fase dividida, motor com capacitor de partida, motor com capacitor permanente e motor com capacitor permanente e de arranque.
![Figura 35 - Ligações no estator de um motor com dois enrolamentos (bifásico). Um deles é o principal e outro o auxiliar. Fonte: Ibiblio [67].](https://dicasdozebio.com/wp-content/uploads/2014/12/fig35-estatorbifasico.jpg?w=595)
Figura 35 – Ligações no estator de um motor com dois enrolamentos (bifásico). Um deles é o principal e outro o auxiliar. Fonte: Ibiblio [67].
Já os motores de polos sombreados, utilizam anéis em curto-circuito para desviar a fase, por isto necessitam somente de um enrolamento no estator. Mas todos os tipos de motores podem ter mais de dois polos, o que reduzirá a velocidade do rotor e aumentará proporcionalmente o torque. Estes assuntos serão abordados na sequência.
As soluções para desvio de fase alcançam, quanto muito, 70º nos motores de indução de 2 polos e 30º nos de polos sombreados. Cada uma destas formas de auxílio ao arranque implica em características cuja conveniência deve ser avaliada, antes de adquirir qualquer motor de indução. É o que veremos agora.
Motor de fase dividida (split phase)
Neste motor (figura 38), são montados no estator dois enrolamentos muito diferentes. Enquanto o enrolamento principal ocupa 2/3 das ranhuras do estator e tem grande reatância e baixa resistência, o enrolamento auxiliar cobre o restante do estator e tem baixa reatância e grande resistência, além de ficar ligado em série com um interruptor centrífugo.
O ângulo formado pela corrente é superior (mais defasado, atrasado) no enrolamento principal, por causa de sua reatância maior. Na prática, o ângulo entre as correntes é próximo de 30º e como os enrolamentos estão dispostos espacialmente a 90º no estator, resulta num campo giratório elíptico, que é suficiente para iniciar a rotação.
Assim que o rotor alcança uns 70 a 80% da velocidade nominal, o interruptor centrífugo, situado no eixo do motor, desliga o enrolamento auxiliar, pois este é construído com fio mais fino e é incapaz de suportar o funcionamento contínuo.
Devido ao aquecimento do enrolamento auxiliar durante a partida, o motor de fase dividida é adequado para o funcionamento contínuo, não intermitente, pois só pode ser ligado a intervalos razoáveis de tempo (depois que a bobina auxiliar esfriou).
Estes motores podem inverter sua rotação, basta trocar os polos de qualquer um dos enrolamentos, enquanto o rotor está parado. É a partida que dá o sentido de rotação.
O motor de fase dividida, por causa de seu baixo conjugado de partida (pouca força para iniciar a rotação), é utilizado com cargas de pequena potência e moderada necessidade de força de arranque (esmeris, compressores herméticos, ventiladores, exaustores, bombas centrífugas, lavadoras de pratos, etc.).
O motor de fase dividida costuma emitir mais ruído (zumbido) que os outros modelos, que utilizam capacitor.
Em esmeris é fácil perceber este tipo de motor, pois além de serem barulhentos, ao serem desligados chega um momento em que o eixo começa a ser travado, já que a chave centrífuga volta à posição original e as escovas que ligam o enrolamento auxiliar funcionam como freio. Vi isto num esmeril da Schulz (figura 39).
Outra forma de efetuar a defasagem da corrente no estator dos motores de indução é ligar o enrolamento de arranque em série com um capacitor.
Motor com capacitor de partida
O motor com capacitor de partida (figura 40) tem o enrolamento auxiliar em série com um capacitor, mais a chave centrífuga. Da mesma forma que no modelo de fase dividida, a chave centrífuga desliga o conjunto logo após a partida, pois o capacitor – geralmente eletrolítico – empregado nestes motores não aguenta ficar ligado muito tempo em corrente alternada. Os capacitores de partida são de valor alto, usualmente entre 300 e 800uF (microfarad).
![Figura 40 – Ligação dos enrolamentos em motor de indução com capacitor de partida. Fonte: UFPEL [72].](https://dicasdozebio.com/wp-content/uploads/2014/12/fig40-motorcapacitorpartida.jpg?w=595&h=245)
Figura 40 – Ligação dos enrolamentos em motor de indução com capacitor de partida. Fonte: UFPEL [72].
O enrolamento auxiliar costuma ser maior que o enrolamento principal neste tipo de motor, com o intuito de melhorar o arranque. Além disso, como o ângulo de defasagem causado pelo capacitor é bem maior que no motor de fase dividida, a força de arranque é muito mais elevada (alto conjugado de partida).
É o modelo mais comum de motor monofásico e pode ser encontrado em potências de 1/4 a 15 cv. Na figura 41 aparece um motor destes, onde o “cocoruto” na carcaça aloja o capacitor.
O motor com capacitor de partida não permite reversão instantânea da rotação, do mesmo modo que o motor de fase dividida. É que qualquer destes motores, após atingirem a velocidade nominal, ficam com o enrolamento auxiliar desligado pela chave centrífuga, tornando inócua a inversão dos polos do enrolamento principal. Somente após parar o rotor, quando o enrolamento auxiliar volta a ser acionado, é possível inverter a rotação, que poderá ser feita em qualquer um dos enrolamentos.
Motor com capacitor permanente
No motor com capacitor permanente (figura 42), o enrolamento auxiliar e o capacitor ficam sempre ligados, não possuindo chave centrífuga. Suas características aproximam-se dos motores trifásicos, como o rendimento e fator de potência. São fabricados com potências de 0,2 a 1,5 cv (figura 43).
O capacitor é escolhido de modo que a corrente que passa pelo enrolamento auxiliar seja a mesma que passa pelo enrolamento principal. O valor ideal do capacitor muda conforme sua finalidade, pois é necessário escolher entre beneficiar o arranque ou manter a rotação. Em função disso, o enrolamento auxiliar poderá ser diferente do principal. O valor do capacitor fica entre 4 a 10uF (mifcrofarad).
![Figura 43 – Motor WEG com capacitor permanente, para máquina de lavar. Fonte: HP Eletricidade Industrial [74].](https://dicasdozebio.com/wp-content/uploads/2014/12/fig43-motorweg-cappermanente.jpg?w=595)
Figura 43 – Motor WEG com capacitor permanente, para máquina de lavar. Fonte: HP Eletricidade Industrial [74].
Fiz um video para demonstrar o princípio de funcionamento do motor de indução com capacitor permanente. Construí um modelo de motor com duas bobinas idênticas, posicionadas em ângulo de 90º, uma delas ligada em série com um capacitor.
Naquele momento, eu não dispunha de capacitor despolarizado, daí montei um, feito com dois eletrolíticos polarizados, ligados em anti-série (quaisquer dois polos de mesma polaridade ligados junto, sendo que os dois terminais restantes são os do capacitor despolarizado). Os capacitores são enormes, de alta capacidade, pois eram os disponíveis e facilitavam o uso por serem conectados por parafusos.
Há também um LED vermelho, em série com um resistor de 1K ohm, para indicar o funcionamento. O circuito foi alimentado com 10VCA, proveniente de um Variac, mas poderia ser um transformador qualquer, com capacidade suficiente de corrente para as bobinas.
O rotor é somente uma canequinha de alumínio, retirada daquelas bombinhas que os asmáticos sempre tem que carregar consigo. Não há qualquer truque, é somente a caneca livre, apoiada sobre uma agulha, que por sua vez está cravada numa base de espuma tipo EVA. A caneca forma, grosso modo, um rotor no estilo “gaiola de esquilo”, que será explicado mais adiante.
Sobre este tipo de motor, há um ótimo artigo dos professores Fernando Lang da Silveira (UFRGS) e Nelson Luiz Reyes Marques (IFSUL), chamado “Motor elétrico: Uma das dez maiores invenções de todos os tempos”. O trabalho foi disponibilizado na UFRGS [75] e eles também fizeram um video [76], mostrando o funcionamento do circuito.
Em princípio, este motor poderia ser ligado a uma rede bifásica real, onde cada um de seus enrolamentos seria ligado a uma fase da rede elétrica, dispensando o capacitor. Funcionaria de modo semelhante a um trifásico, mas a separação física de 90º entre os polos do estator e de 120º entre as fases da alimentação, neste caso, formaria também um campo magnético girante elíptico.
O motor com capacitor permanente é considerado o mais confiável dos motores monofásicos, principalmente pela inexistência do interruptor centrífugo. Pode ser utilizado de modo intermitente, além de ser fácil alterar sua velocidade, com a mudança do valor do capacitor. Após alcançar a velocidade nominal, é mais silencioso e vibra menos que os outros motores monofásicos. Mais motivos, portanto, para ser utilizado em ventiladores.
Além disso, este motor permite a reversão instantânea da rotação. Um exemplo típico são as lavadoras de roupas, nas quais a centrifugação ocorre no sentido inverso ao dos molhos e enxágues. Outro exemplo, obviamente, são os ventiladores de teto, assunto deste artigo, e que serão abordados com mais detalhes mais para a frente.
Motor com dois capacitores (permanente + de partida)
O motor com duplo capacitor, mistura os dois tipos anteriores – pois tem um capacitor de partida e outro permanente – e reúne as vantagens de cada um deles: alto conjugado de partida, alta eficiência e alto fator de potência (figura 45).
Como o seu custo é mais elevado, costuma ser fabricado somente em potências acima de 1 cv. Este motor também é facilmente reconhecido, pois precisa acomodar junto dele dois capacitores. Pode ser como o modelo da figura 46 ou aqueles tradicionais, com dois “cocorutos” na parte superior da carcaça.
É um tipo de motor muito empregado no meio rural (figura 46), onde são necessários equipamentos com bastante potência (como os moedores de grãos), em instalações monofásicas, geralmente em finais de linha, cuja estabilidade de tensão deixa a desejar. Neste caso, motores com melhor fator de potência são desejáveis.
Motor de polo sombreado (shaded pole)
Outro modo de criar um campo magnético girante é utilizar uma modificação física dos polos, que caracteriza o motor de polo sombreado (também chamado de campo distorcido, bobina de sombra, bobina de arraste, anel ou espira de sombra, etc).
Este método utiliza um estator com polos salientes. Cada polo divide-se em duas partes, e na menor delas (25 a 35% do total de cada polo) é colocada uma bobina de metal não ferromagnético, que o abraça. A espira de metal condutor funciona como o secundário de um transformador em curto-circuito.
Assim, a espira em curto faz oposição severa à mudança do fluxo magnético, atrasando-o (ou sombreando-o, por isto o nome do motor). Observe a figura 47 para mais detalhes.
![Figura 49 – Animação que demonstra o funcionamento do motor de campo distorcido. Fonte: Tuveras [79].](https://dicasdozebio.com/wp-content/uploads/2014/12/fig49-animacionsombra2.gif?w=595)
Figura 49 – Animação que demonstra o funcionamento do motor de campo distorcido. Fonte: Tuveras [79].
Durante a variação da amplitude do fluxo que passa pela bobina em curto, aparecem caminhos de corrente que criam outros tantos campos magnéticos, debilitando os fluxos que os criaram e opondo-se a eles. Assim, consegue-se diminuir o fluxo magnético sobre os polos sombreados quando o fluxo está aumentando e manter a magnitude do campo enquanto ele está diminuindo. Resulta que se tem dois campos magnéticos pulsantes, que não estão deslocados 90º (quanto muito 45º), mas seu efeito conjunto é a criação de um débil campo magnético rotativo, que possibilita o arranque do motor.
Na figura 48, são ilustradas estas mudanças que ocorrem no campo magnético destes motores, durante um semiciclo da corrente. No outro semiciclo, a polaridade muda e a operação é invertida, mantendo o rotor na mesma rotação. E a animação da figura 49 amplia a percepção do modo de funcionamento do motor de polo sombreado.
O atraso do fluxo causado pelas espiras de sombra faz com que o rotor desloque-se da parte maior do polo para a parte abraçada (cuide as setas da figura 47). Por isto, no motor de polos sombreados não é possível alterar o sentido de rotação, a não ser que seja invertida a posição do rotor.
No vídeo acima tem outro experimento, para demonstrar o princípio do polo sombreado. Desta vez só é necessário uma bobina, além de algumas peças de de cobre ou alumínio. Esta experiência é abordada em detalhes no blog Feira de Ciências [80].
O motor de polo sombreado é muito utilizado por causa de sua simplicidade, apesar do rendimento reduzido. Por isso, ele é viável somente para pequenas potências, até 0,25 cv. A figura 51 mostra dois motores de polo sombreado, com uma e com duas bobinas de estator. Nas figuras 52 a 54, eles aparecem desmontados, onde é possível ver mais detalhes construtivos. Observe que cada bobina origina dois polos.
Um motor de indução diferente: o medidor de energia elétrica
Um curioso motor de indução é utilizado em antigos medidores de energia elétrica (electromechanical meter), aqueles que tem um disco giratório, como o da figura 56. Muitos tem curiosidade em saber como é que eles funcionam, tentarei aqui dar uma ideia.
Basicamente é um motor de indução de fase dividida, mas a sua forma construtiva é muito própria, pois o dispositivo tem a finalidade de medir a potência consumida na rede elétrica. O rotor é um disco de alumínio, que gira mais rápido conforme aumenta o consumo da instalação.
Na prática, este motor é um wattímetro, com a escala em Kilowatt-hora (Kwh). Kilowatt-hora é a unidade de medida da energia consumida no período de uma hora. Tem um texto da Aneel [81] sobre isso. Por exemplo, um chuveiro com a potência de 5000W gasta 5KWh, ou 5000W por hora, se ficar sempre ligado durante todos os 60 minutos e se estiver selecionado o aquecimento máximo (inverno). Para estimar o consumo mensal, deve-se multiplicar a potência do aparelho pelo número de horas que ele fica realmente ligado durante o mês.
No caso do chuveiro, se 4 pessoas utlizam ele todos os dias, cada um tomando um banho de 10 minutos, o cálculo será de 4 pessoas vezes 10 minutos vezes 30 dias, o que dará 1200 minutos. Dividindo este valor por 60 (1 hora), serão 20 horas de chuveiro ligado por mês. Como o nosso chuveiro consome 5KWh, o impacto na conta mensal de luz, só do chuveiro, será de 100KWh (consumo do chuveiro vezes o tempo em horas utilizado no mês: 5 x 20). Uma pequena mudança nos hábitos de uso de aparelhos elétricos de alto consumo pode gerar grande economia. Então, não culpe o medidor de energia pela sua conta, ele apenas reflete o que você consome.
Para explicar o medidor de energia (também conhecido por registro de luz), vamos tratar aqui do modelo monofásico, cujo princípio de operação é o mesmo dos trifásicos. Nas figuras 57 a 61 podemos identificar os componentes que fazem parte destes medidores, bem como suas ligações elétricas.
Há uma bobina com grande número de espiras (alta indutância), que envolve um núcleo ferromagnético em forma de E, que fica por cima do disco. Esta bobina, chamada de bobina de tensão, fica ligada em paralelo com a rede elétrica, e apresenta um consumo de energia extremamente reduzido.
![Figura 59 – Diagrama de ligações em medidor de consumo de energia elétrica. Fonte Electrical-Engineering Portal [83].](https://dicasdozebio.com/wp-content/uploads/2014/12/fig59-single-phase-induction-kilo-watt-hour-meter-scheme.gif?w=595)
Figura 59 – Diagrama de ligações em medidor de consumo de energia elétrica. Fonte Electrical-Engineering Portal [83].
![Figura 60 – Motor do medidor removido do invólucro, deitado, onde aparecem a bobina de tensão (ao fundo) e as bobinas de corrente (fios grossos com terminais). Fonte: Popular Science [84].](https://dicasdozebio.com/wp-content/uploads/2014/12/fig60-field_coils_installed.jpg?w=595&h=446)
Figura 60 – Motor do medidor removido do invólucro, deitado, onde aparecem a bobina de tensão (ao fundo) e as bobinas de corrente (fios grossos com terminais). Fonte: Popular Science [84].
Abaixo da bobina de tensão, há o disco de alumínio, também conhecido por disco de Arago, que foi o descobridor do efeito, apesar de não explicá-lo corretamente (Faraday o fez mais tarde, conforme [85]). O disco funciona por causa da criação em sua superfície das correntes de Foucault (ou eddy current, em inglês). Em post anterior, abordei mais detalhes das correntes de Foucault.
Debaixo do disco de alumínio, outro núcleo magnético, em forma de U (geralmente integrado ao núcleo E superior), tem duas bobinas com pequeno número de voltas, de fio grosso o suficiente para o consumo da instalação predial. Se for um medidor para alto consumo, poderá ter somente uma espira, como no medidor das figuras 60 e 61. Estas são as bobinas de corrente, que ficam em série com o polo fase da instalação da rede elétrica.
A fase da corrente destas duas bobinas está deslocada aproximadamente 90º da bobina de tensão, por causa da diferença de indutância. Por isso, é gerado um campo magnético rotativo, do mesmo modo que no motor de indução de fase dividida.
Alguns textos informam que a bobina de tensão teria anéis de cobre nas extremidades do núcleo em E (figura 59), o que poderia ajudar na defasagem. Isso configuraria o motor como um misto de polo sombreado e fase dividida, mas é provável que seja somente um detalhe tecnológico entre fabricantes distintos.
Para aumentar a confiabilidade, o motor conta com diversos acessórios. Um deles é o freio eletromagnético (um ou dois ímãs em forma de U na borda do disco), que estabiliza a rotação e lineariza o comportamento do disco.
Outro item, acoplado ao eixo do disco, é um sistema de engrenagens redutoras para contar o número de voltas. Este mecanismo de contabilização registra, de modo permanente, quantos Kilowatt-hora o medidor já contou, desde sua fabricação. As casas decimais existentes permitem o medidor contar o consumo por vários anos, até chegar novamente a zero.
Além disso, o disco tem marcações que permitem visualizar o nível de consumo “ao vivo”. Quando o consumo aumenta, por exemplo ligando um chuveiro elétrico, é fácil de perceber a diferença de velocidade do disco.
As informações sobre os medidores elétricos residenciais são baseadas nos artigos das referências [82] a [87]. Há também um excelente vídeo de Ben Krasnow [88], que detalha todos os mecanismos dentro de um medidor de eletricidade monofásico da GE. No portal do Departamento do Interior, do governo americano [89], há um texto que aborda o teste e a manutenção destes aparelhos. Complementando o assunto, temos da Universidade do Porto um ótimo artigo sobre o Gerador de Faraday [57].
Número de polos e velocidade
Considera-se, por padrão, a frequência da rede elétrica (60Hz, no Brasil) para definir a velocidade dos motores de indução, chamada de velocidade de sincronismo. É um valor constante. Para saber a velocidade nominal do motor é necessário descontar o percentual de escorregamento, que pode chegar até 5% da velocidade de sincronismo, nos motores mais pequenos.
Além disso, a rotação de qualquer motor de indução diminui com o aumento do número de polos. Para saber o número de rotações por minuto (rpm) na velocidade de sincronismo (ns) de um motor monofásico, pegamos a frequência da rede (fe=60Hz, em nosso caso), multiplicamos por 120 e dividimos pelo número de polos (p).
ns = 120*fe/p
Assim, um motor de 2 polos (menor número possível) terá uma velocidade ns= 120*60/2, o que dará 3600 rpm. Já um motor de ventilador de teto de 12 polos terá uma velocidade de 600 rpm.
Os motores de ventiladores de teto (os que utilizam motor de indução) costumam ter entre 8 e 24 polos. Portanto, as velocidades dos ventiladores podem variar desde 900 até 300 rpm, respectivamente. Com um escorregamento máximo de 5%, poderia chegar a 285 rpm.
Para obter velocidades mais baixas, teríamos que aumentar o número de polos, o que pode tornar-se impraticável construtivamente.
Também pode-se elevar o ângulo de inclinação ou o tamanho das pás, o que aumenta o atrito com o ar e o escorregamento. Estas duas opções reduzem a eficiência geral do motor e podem sobreaquecê-lo.
Pode-se também diminuir o valor do capacitor permanente, dentro de certos limites, e é o que se pratica nos ventiladores em geral. O capacitor em série diminui a tensão sobre a bobina auxiliar. Com valores menores, a corrente diminui, reduzindo a influência da bobina auxiliar e o motor passa a girar mais devagar.
Agora vamos pensar em um determinado motor de ventilador de teto, que altera a velocidade através da troca de capacitores. Na prática, não há aumento da velocidade, somente redução, já que a velocidade de sincronismo nunca é ultrapassada. Considera-se que os motores de ventiladores operam de modo aceitável entre a velocidade nominal e metade dela.
Deve-se ter em conta que o torque nos ventiladores tem progressão quadrática: quando dobra a velocidade, quadruplica-se o esforço para o motor. Na velocidade nominal, quando aumenta o esforço para o motor há a tendência de aumentar o escorregamento, o que produz mais torque, até um certo ponto (o ponto de conjugado máximo, conforme será visto logo adiante). Se as pás oferecem uma resistência bem dimensionada, a velocidade se mantém num ponto de equilíbrio.
Ao reduzirmos a rotação, o esforço para o motor também diminui ao quadrado, só que agora o escorregamento fica muito elevado, pois aumenta a distância da velocidade de sincronismo. Com isso, o aumento do escorregamento ulrapassa o ponto de conjugado máximo, causando a redução do torque e o aumento da corrente sobre o motor, já que o rotor tende a parar. Rotor parado, como vimos, equivale a curto-circuito para o estator. Mais um motivo para sobredimensionar os enrolamentos do estator.
Além disso, os motores de indução de potência fracionária (cuja potência é uma fração de CV) tem baixo rendimento, pois as perdas magnéticas equivalem à potência de saída. Estas perdas são menores nos motores mais potentes. Quanto mais baixa a rotação em relação à velocidade de sincronismo, mais elevadas as perdas magnéticas, pois o escorregamento é muito elevado.
E a relação entre potência e velocidade é cúbica: para a metade da velocidade, a potência requerida pelo motor é 12,5% da outra (0,5³). Para o dobro da velocidade, a potência necessária sobe oito vezes (2³). É possível que, por causa disso, muitos ventiladores que utilizam motores de indução exibem rotações muito baixas, pois são feitos para aguentar um altíssimo escorregamento. Mas a eficiência deixa a desejar.
Aliás, uma curiosidade: se girarmos o eixo de um motor de indução ligeiramente acima da velocidade de sincronismo, o motor passa a se comportar como gerador, como é possível visualizar no gráfico da figura 62. O gráfico do escorregamento negativo tem a mesma forma do escorregamento normal, apenas é invertido. Para mais informações, leia o artigo sobre geradores no Centro de Referência em Pequenas Centrais Hidrelétricas [90] e a aula sobre Máquinas elétricas CA [91]. Mas hoje, falamos de motores assincronos…
![Figura 62 – Comportamento de um motor de indução conforme a velocidade de rotação de seu eixo. Fonte: Blog de Emannuel Fernandes [91].](https://dicasdozebio.com/wp-content/uploads/2014/12/fig62-curva.png?w=595&h=402)
Figura 62 – Comportamento de um motor de indução conforme a velocidade de rotação de seu eixo. Fonte: Blog de Emannuel Fernandes [91].
Sabemos que o motor de indução tem sua velocidade determinada pelo número de polos e pela frequência da rede elétrica.
A frequência da alimentação pode ser alterada através de um inversor de frequência (inverter). Este equipamento, apesar do custo relativamente elevado para pequenos motores, está popularizando-se e tende a baixar de preço, pois seu uso tem aumentado em lavadoras de roupa e aparelhos de ar condicionado.
Os inversores de frequência tem uma vantagem intrínseca muito relevante, pois podem ser alimentados por energia monofásica e gerar saída polifásica (qualquer número de fases). Isto permite acionar motores melhores e de modo muito mais eficiente, sem os tradicionais problemas de arranque.
Em ventiladores, se o custo diminuísse suficientemente, os inversores de frequência seriam muito bem vindos, pois poderiam girar a velocidades muito baixas, mantendo um torque próximo ao nominal.
Velocidades baixas fazem o ventilador abrandar seu ruído, o que aumenta o conforto ambiente. Por isto é que muitos fabricantes de ventiladores produzem motores com grande número de polos.
Sobre o acionamento de motores monofásicos com inversores, há um trabalho muito interessante de Luis Cândido Tomaselli [95], da UFSC, onde ele explica de forma clara as variáveis a considerar quando se pretende mudança de velocidade em motores com capacitor permanente, para uso em ventiladores. Outro trabalho, dirigido ao acionamento de motores monofásicos de máquinas de lavar roupas, foi publicado por Nelson Jue Wong [96], da USP.
Para saber quantos polos tem um motor de ventilador de teto, é só contar o número de bobinas de uma das fileiras no estator. Cada bobina é individual e forma um polo. As fileiras são do enrolamento principal (mais externa) ou auxiliar.
Mas em motores de indução comuns, exceto nos de polo sombreado, não é tão fácil, pois cada bobina é distribuída por várias ranhuras e pode ser parcialmente sobreposta às outras, como visto na figura 34. Na figura 63 aparece o esquema de distribuição de bobinas concêntricas pelas ranhuras do estator. Há também o modo espalhado de distribuição, como mostra a figura 64. Para mais detalhes, acesse a página da What-When-How (sic) na referência [92], além da excelente Electric Research Fraternity [93]. E na página Inspetor de Instrumentação [94] tem um antigo mas completo manual de rebobinamento de motores.
O rotor de gaiola
Os motores de indução aqui abordados utilizam rotores sem qualquer ligação elétrica, o que aumenta grandemente a durabilidade e confiabilidade destas máquinas, já que a ausência de fricção em contatos diminui a necessidade de manutenção e reduz o ruído.
Exceto o motor do medidor de Kwh, todos os outros modelos de motores assíncronos empregam o rotor em curto circuito, mais conhecido por “gaiola de esquilo“. É que ele tem, internamente, aparência semelhante às rodas nas quais estes animais brincam, quando em cativeiro. Os motores com rotor gaiola de esquilo correspondem a mais de 90% dos motores de indução comerciais.
![Figura 65 – Rotor de gaiola de esquilo, visto de três maneiras, com destaque para o efeito de espira em curto circuito nos polos. Fonte: SH Freitas [97].](https://dicasdozebio.com/wp-content/uploads/2014/12/fig65-rotorgaiolaesquiloed3.jpg?w=595&h=281)
Figura 65 – Rotor de gaiola de esquilo, visto de três maneiras, com destaque para o efeito de espira em curto circuito nos polos. Fonte: SH Freitas [97].

Figura 66 – Rotores de gaiola de esquilo, de motores de indução de polo sombreado. O da esquerda é de motor de 4 polos e o da direita, de 2 polos. Os furos nas peças são feitos durante o balanceamento do eixo, para evitar vibrações.
Nestes rotores, a gaiola geralmente é feita de alumínio, mas pode ser de cobre, latão ou qualquer outro material condutor não ferromagnético. As barras condutoras retilíneas da gaiola são curto-circuitadas permanentemente por anéis nas extremidades. A função deste arranjo é criar espiras que irão gerar uma força contra-eletromotriz, conforme a lei de Lenz (auto-indução). Os anéis das extremidades e as espiras devem ser espessos para melhorar o efeito, pois isto aumenta a corrente sobre as espiras e gera mais força contra-eletromotriz.
Esta força contrária será ampliada também com a inclusão de um núcleo, de chapas justapostas de ferro-silício laminado. Pode-se ver, destacadas em amarelo na figura 65, as espiras formadas em determinado instante do funcionamento. Na figura 66, pode-se ver em detalhe dois rotores gaiola de esquilo, de motores de polo sombreado.
Em outras palavras: cada espira da gaiola, junto com o núcleo de ferro transforma-se momentaneamente em um eletroímã, que irá repelir o campo magnético do estator (rever a figura 65). Isto tende a afastar aquela espira do polo do estator mais próximo. Como o estator tem um campo magnético girante, o rotor irá girar, pois está apoiado em rolamentos para diminuir o atrito.
O efeito da espira em curto circuito, sob um campo magnético alternado, pode ser melhor compreendido com um experimento prático. No video a seguir, pode-se observar uma espira saltitante. A bobina recebe tensão alternada, que gera um campo magnético, também alternado, no núcleo. A espira única de cobre ou alumínio, que curto-circuita este fluxo magnético, desenvolve uma força contra eletromotriz, repelindo o núcleo. Como ela é mais leve, o resultado é que ela eleva-se ao ligar o circuito.
O deslocamento da espira aumenta proporcionalmente com a sua seção (mais volume de metal na espira gera mais corrente). Se o núcleo ferromagnético fosse longo, a espira poderia subir mais, mas nunca além da extremidade, pois a partir dali a força contra-eletromotriz é muito reduzida (é o núcleo que potencializa este efeito). Agora você tem uma ideia de como um trem como o Maglev pode levitar…
Podemos observar também que as barras condutoras da gaiola do rotor são montadas de maneira torcida entre as extremidades. É que, assim, as espiras da gaiola nunca ficam alinhadas completamente com as ranhuras do estator, evitando a tendência de bloqueio do rotor. Além disso, esta inclinação diminui enormemente o zumbido e a trepidação causados pela ação eletromagnética entre o rotor e os dentes das cavas do estator.
Se não houvesse esta diferença angular entre as extremidades do rotor, as posições do rotor durante o funcionamento ficariam claramente demarcadas, mais ou menos como numa chave seletora rotativa de multímetro. Como o rotor tem o mesmo número de dentes do estator, a atração magnética entre eles tende a manter o rotor bloqueado. Este efeito de travamento inclusive é utilizado em motores de passo.
Problemas com o travamento do rotor e lubrificação
Já dissemos que o rotor do motor de indução pode ser considerado como o secundário de um transformador, assim como o estator seria o primário. Se o rotor de gaiola está travado, com o motor energizado, ele atua como se fosse um secundário em curto-circuito, elevando a corrente a níveis perigosos.
Por isto é que não se deve forçar um motor – qualquer motor – a ponto de reduzir muito a sua rotação, pois o aquecimento será intenso, podendo facilmente queimá-lo. Para dar uma ideia do dano, na figura 68 aparece um motor que teve o seu rotor travado durante o funcionamento. O rotor chegou a fundir, literalmente.
Este alerta também vale para motores de escovas (universais), muito utilizados em ferramentas elétricas, como furadeiras e esmerilhadeiras.
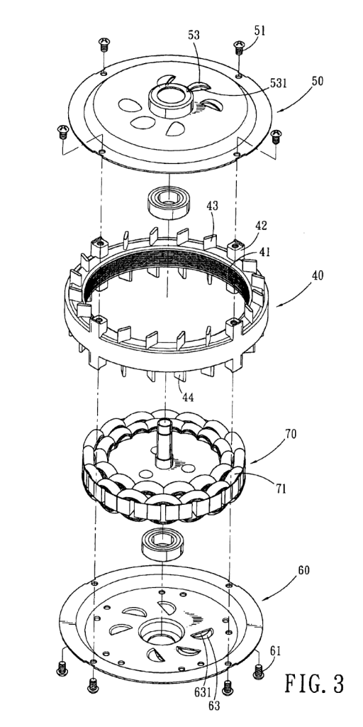
Nos ventiladores de teto, o eixo normalmente é apoiado em rolamentos blindados, que tem grande durabilidade. Quando eles dão problema (é raro), o giro da hélice não é livre, faz um barulho como se algo raspasse. Quando o motor é desligado, as pás param rapidamente. Neste caso, é necessário trocar os rolamentos.
Em ventiladores menores, o problema do travamento do rotor toma uma importância especial. Como eles geralmente ficam ligados por horas a fio, após alguns anos chegará o momento em que os mancais do eixo deverão ser lubrificados, ou ocorrerá o travamento. Também se ficarem parados/guardados por muito tempo, poderão estar com o eixo travado ao serem novamente postos para funcionar, por causa do endurecimento do lubrificante.
É que nos ventiladores de mesa ou de pé, os dois mancais (um em cada extremidade do eixo do rotor) são feitos com buchas sinterizadas (metal poroso), envolvidas por feltros embebidos em óleo lubrificante. É a tal da auto-lubrificação.
Com o uso, o óleo dos feltros tende a se extinguir e as buchas começam a soltar partículas que ficam entre elas e o eixo, o que causa mais atrito e mais aquecimento. Isto desgasta ainda mais as buchas, aumentando o ruído e resultando no travamento do eixo.

Figura 69 – Estator de ventoinha PAPST alemã, modelo TYP 4650N, de 230VCA, onde é possivel perceber que o rotor “lixou” as lâminas do estator.
Este problema pode ser solucionado se, periodicamente, as buchas são lubrificadas. Muitos ventiladores dispõe de um furinho junto ao feltro para receber a lubrificação. Para lubrificar, bastam poucas gotas de óleo de máquina de costura sobre cada feltro, sem encharcá-lo. Já o eixo, precisa ser limpo somente se a hélice está parando muito rápido.
Vejamos o que ocorre quando esta manutenção preventiva não acontece. Como exemplo, vou mostrar uma ventoinha de refrigeração de no-break, equipamento que supre a falta de energia e precisa ficar sempre ligado, 24h por dia.
Nas figuras 69 e 70 aparece o motor de uma ventoinha PAPST alemã, que utiliza a configuração de 2 polos sombreados. Ela nunca teve manutenção preventiva e funcionou direto por pelo menos uns 10 anos no no-break.
Atualmente, ao ligar a ventoinha ela faz um barulho forte e o rotor funciona aos trancos. Tudo por causa da folga da bucha, que é tão grande que o rotor passou a bater no estator (os fabricantes deixam o menor espaço possível entre o rotor e o estator, pois assim aumenta a eficiência da máquina).
Ao observar detidamente a figura 69, pode-se ver o estrago que o rotor fez sobre o estator, pois deixou lisa a superfície que deveria ser multilaminada. Isto impede que a ventoinha seja reutilizada, pois mesmo trocando as buchas, o rendimento diminuiu e o motor aquecerá mais.
Outro detalhe, que muitos ventiladores apresentam, especialmente os que tem uma chave rotativa para escolher a velocidade. As posições são, invariavelmente: desligado, velocidades máxima, média, mínima. O motivo para o ventilador começar na velocidade máxima é que nela, a força de arranque é maior, o que ajuda o rotor começar a girar, caso apresente uma leve dificuldade após algum tempo sem utilização.
Conjugado
O conjugado em um motor de indução é proporcional ao campo magnético produzido pelo estator e a corrente induzida no rotor. Na prática, é a “força” ou torque disponível no eixo, em determinada situação. Ou, matematicamente falando, é o momento do eixo. Também é conhecido por torque binário ou somente binário.
De modo a padronizar as informações sobre o desempenho dos motores, são considerados diversos conjugados (figura 71):
– Conjugado de partida ou de arranque (Cp), relativo à força de arranque;
– Conjugado nominal ou de carga (Cn), que é o torque do motor sob carga nominal (máxima admissível);
– Conjugado mínimo (Cmin), que é o menor torque desenvolvido pelo motor, ao acelerar desde zero até a velocidade do conjugado máximo.
– Conjugado máximo (Cmax), que é o maior torque possível.
![Figura 72 – Curvas de torque x velocidade dos motores de indução monofásicos. Fonte: Microchip [99].](https://dicasdozebio.com/wp-content/uploads/2014/12/fig72-curvasconjugadosmotoresinducb.jpg?w=595&h=529)
Figura 72 – Curvas de torque x velocidade dos motores de indução monofásicos. Fonte: Microchip [99].
A figura 72 exibe um gráfico onde foram sobrepostos os conjugados dos motores de indução assíncronos monofásicos. Foi traduzido do gráfico da nota de aplicação da Microchip [91], a AN887 (AC Induction Motor Fundamentals). Considero que desta maneira é mais fácil perceber as diferenças entre os motores.
O conjugado (torque) está na linha vertical do gráfico e a rotação do motor na horizontal. Para compreender melhor: o gráfico inicia à esquerda com o rotor parado, que tem sua velocidade aumentada até a máxima (100% da velocidade de sincronismo), à direita.
Aqueles degraus dentro da área hachurada do gráfico da figura 72 correspondem ao ponto de acionamento da chave centrífuga, nos motores que a tem (de fase dividida, com capacitor de partida e com 2 capacitores – permanente e de partida).
Na figura 73, aparece o gráfico do conjugado de carga com relação ao escorregamento, em motores de indução. A linha inferior é o conjugado de carga (torque possível sobre a carga conforme a velocidade do rotor), e tem um ponto de cruzamento com o escorregamento. Aquele ponto é onde o motor idealmente deveria funcionar (máxima eficiência), e corresponde aproximadamente à metade do conjugado máximo.
Escorregamento
O escorregamento (s, de slip), ou resbalamento, ou deslizamento, como já foi dito, ocorre quando a velocidade de rotação do rotor é menor que a velocidade de rotação do campo magnético do estator. O campo do estator gira na velocidade de sincronismo (60 ou 50Hz, conforme o país), que seria aquela velocidade em que o rotor não teria nenhum escorregamento.
É o escorregamento que garante o funcionamento dos motores de indução assíncronos, pois sem ele não existiria torque. A figura 74 exibe a curva de escorregamento destes motores (torque disponível conforme a velocidade de rotação do eixo). Percebe-se que o escorregamento, quando aumenta até determinado ponto, aumenta o torque. Esta é a chamada faixa estável, e é dentro dela que o motor deve funcionar, pois a sobrecarga faz o motor aumentar o torque.
Após o pico do gráfico (Cmax), o funcionamento do motor é instável, pois o aumento do escorregamento diminui o torque. Nesta situação, qualquer sobrecarga (exigir torque acima do nominal para aquela rotação) causa mais escorregamento, que por sua vez diminui o conjugado, o que aumenta ainda mais o escorregamento. Isto faz o rotor parar rapidamente (100% de escorregamento).
Observe que este gráfico da figura 74 está invertido em relação aos dos conjugados (figura 71 a 73), pois o ponto zero do eixo horizontal é o escorregamento (100% da velocidade de sincronismo). Naqueles outros gráficos, o eixo horizontal corresponde à velocidade do rotor.
![Fgura 74 – Gráfico do conjugado de um motor de indução em função do escorregamento. Fonte: UFES [78].](https://dicasdozebio.com/wp-content/uploads/2014/12/fig74-conjugadoescorregamento.jpg?w=595&h=402)
Fgura 74 – Gráfico do conjugado de um motor de indução em função do escorregamento. Fonte: UFES [78].
Existe, portanto, um ponto ótimo para o motor funcionar com o máximo rendimento. Em média, o escorregamento alcança, nos pequenos motores de indução, uma diferença entre 0,5% em vazio (sem carga) a 5%, com carga nominal (máxima). Os motores de maior potência tem maior rendimento e pequena taxa de escorregamento.
Mais sobre motores
As ventoinhas pequenas, como as dos computadores, via de regra tem motores energizados com 5 ou 12VCC (Volt em Corrente Contínua). São construídas com ímãs permanentes, que são acoplados a um circuito eletrônico de acionamento. São denominados motores CC sem escovas (DC brushless motor) e não serão abordados neste artigo.
Já os modelos de ventoinhas ligadas diretamente na rede elétrica (110 ou 220VCA) usam motores de indução assíncronos de polo sombreado e tem o rotor externo ao estator, do mesmo modo que os ventiladores de teto. É o caso da ventoinha PAPST mencionada anteriormente. A seta da figura 75 mostra uma das duas espiras de sombra embutidas (que também pode ser vista na figura 68). Na figura 76, é possível perceber que o rotor foi fabricado fundido com a hélice. Ao fundo da imagem, por dentro do rotor, nota-se as espiras da gaiola, cobertas pela tinta.

Figura 75 – Detalhe do enrolamento do motor, que é de 2 polos. A seta destaca uma das duas espiras de sombra.
No final das contas, por causa das diferenças construtivas dos motores de indução, existe um tipo de motor mais adequado para cada regime de trabalho e finalidade. Para ajudar aqueles que precisam escolher o melhor motor para sua aplicação, a WEG [92] publicou um interessante artigo, sobre o rendimento em motores monofásicos, é interessante conhecê-lo.
Este longo artigo, para ser construído, absorveu informações espalhadas por vários trabalhos, já que há muitas formas de abordar o assunto. Alguns textos são muito completos/didáticos. Uma das melhores páginas, disparado, é a Ibiblio [71], em inglês. Aquele texto abrange as características da grande maioria dos motores utilizados atualmente, tem muita informação.
Depois, tem vários outros textos, a maioria de professores: Eurico Castro Neves, da UFPEL [72]; Fernando L. Silveira e Luiz R. Marques, da UFRGS e IFSUL [75]; Vinicius Secchin, da UFES [78]; Tuveras [101], em espanhol; Hélio Pinheiro, do IFRN [102]; Mário Ferreira Alves, do ISEP [103]; Mario Loureiro [104]; Gil Marques, do IST [105]; Joel Rocha Pinto, da FACENS [106].
Por último, dois trabalhos bem abrangentes: a UFRN [107] disponibiliza uma “Apostila de Manutenção Industrial ” e o Portal da indústria [108] publicou “Motor Elétrico – Guia Básico”, 6ª obra de uma série, muito bom de ler.
Motores com novos materiais
Estão em estudo novos compostos para fabricar o núcleo dos motores de indução, o que promete revolucionar sua fabricação, tornando-os mais versáteis, leves e aumentando seu rendimento. Por exemplo, os núcleos de compostos magnéticos macios, fabricados de acordo com a técnica chamada metalurgia do pó.
A metalurgia do pó tem sido utilizada na reciclagem de sobras (cavacos) de metais, onde se deseja preservar as características originais da liga ou separá-la de modo ambientalmente correto (p. ex., ligas contendo lítio, cujo vapor é volátil e perigoso).
Com esta tecnologia, é possível construir núcleos feitos com ligas de pó de ferro sinterizado. Estas ligas podem conter metais como o lítio. Essencialmente, isolam-se as partículas da liga em cápsulas, o que reduz bastante as correntes de Foucault e torna o processo de moldagem dos motores muito mais fácil e adaptável às mais variadas situações. Pode ser uma interessante opção para os motores de tração elétrica de veículos, por exemplo.
O artigo de 4 doutores do ICET, ULBRA E UFRGS [109] – Mario M. Dias, Lírio Schaeffer, Arão M. Dias e José L. César – apresenta alguns modelos com núcleo de pó de ferro sinterizado, que foram construídos em parceira com a WEG. Já o trabalho de Sérgio D. Bittencourt, da UFRGS [110], considera estes núcleos mais adequados a altas frequências (o que, no final das contas, é a tendência para o futuro).
Outro trabalho da UFRGS [111], faz um estudo comparativo entre alguns materiais magnéticos. Há também um trabalho vindo de uma universidade da Macedônia, em inglês [112], sobre o uso destes materiais em pequenos motores de polo sombreado.
E a Höganäs [113] é um fornecedor de compostos magnéticos macios, com a linha Somaloy. Na referência [114], tem um link para um texto desta empresa que explica de modo bem simples e claro, em português, o processo de metalurgia do pó.
VENTILADORES DE TETO
Os ventiladores de teto geralmente empregam o motor de indução com capacitor permanente, cujo funcionamento já foi explicado neste texto. As diferenças entre os motores comuns com capacitor permanente e os motores dos ventiladores de teto são, principalmente, o método construtivo e a existência de um sistema de controle para o usuário variar a velocidade e o sentido de rotação.
Há três maneiras de controlar a operação dos ventiladores de teto. A mais antiga e ainda hoje utilizada é a correntinha, que fica suspensa junto ao motor e aciona uma chave caracol interna. Geralmente há duas, uma das chaves aciona a luz (se houver luminária) e a outra altera a velocidade (chave de 4 posições: velocidade 3, 2, 1 e desligado). A rotação é invertida através de uma chave no corpo do ventilador, acima das pás.
A segunda maneira controlar os ventiladores de teto é utilizar um espelho de parede, que substitui o interruptor de luz. Nele, há três chaves: a da lâmpada, a da inversão da rotação e a da velocidade. Eventualmente, no lugar desta última pode haver um potenciômetro que controla a velocidade de modo contínuo, através de um circuito eletrônico interno.
O mais moderno modelo é com controle remoto. Normalmente, há funções adicionais, como o timer, sleep e a memorização da última operação. Nestes sistemas, o circuito do receptor fica no corpo do ventilador. Dependendo do fabricante, há modelos com controle por infravermelho, por radiofrequência e até por Bluetooh.
A característica construtiva mais visível dos ventiladores de teto é o rotor grandão, posicionado do lado externo do estator. O estator fica no centro, preso ao eixo. O rotor apoia-se em rolamentos sobre o eixo, dispostos acima e abaixo do estator.
A razão de montar o rotor por fora é, principalmente, por questões práticas. Como o motor é suspenso pelo eixo central, é mais fácil fazer o rotor externo e tornar a carcaça giratória, já que o rotor não tem qualquer conexão elétrica. E as pás da hélice podem ser fixadas com suportes mais amplos, diretamente na estrutura.
Além disso, o fato do rotor ser bem maior diminui o esforço para começar a girar, pois o torque é aplicado longe do eixo. Experimente começar a girar uma roda de bicicleta junto ao eixo e compare com o esforço necessário para girá-la pelo pneu. Gire devagar, com cuidado para não prender os dedos nos raios e machucar-se seriamente.
As conexões elétricas do estator e da eventual luminária passam por dentro do eixo, pois ele é oco. O motor é engatado em um canopi, que por sua vez é preso a um suporte no teto. A fiação passa por dentro do canopi, até o ponto de ligação.
Este sistema de fixação permite algum movimento pendular para o ventilador, pois ele nem sempre estará com as pás perfeitamente equilibradas e poderá ser montado em tetos levemente inclinados. Se a instalação fosse feita com cano rígido, poderia causar sérios acidentes, pois ao longo do tempo haveria fadiga do metal do cano, ou do sistema de fixação, por causa das vibrações.
Para identificar mais claramente os componentes dos ventiladores de teto, escolhi uma imagem onde aparece a vista explodida do aparelho (figura 77). A figura vem de uma patente (ver Google Patents [115]), que refere-se ao modo de refrigeração do motor de ventilador de teto. São as abas no perímetro do rotor. Há várias patentes de ventiladores de teto, em geral abordando um detalhe específico, como neste caso. Aparentemente, as primeiras que trataram deste assunto são do século XIX, como a US560569A, de 1896 e a US636871A, de 1899. Complementando, na figura 78 temos uma vista em corte de um motor de ventilador de teto.
As figuras 79 e 80 mostram, respectivamente, o estator e o rotor de um ventilador de teto desmontado. Este rotor, por exemplo, é liso e não utiliza aquele método de abas de refrigeração desenhado na patente da figura 77.
Outra característica bem típica destes motores é a separação física dos enrolamentos do estator. O enrolamento externo (principal) e outro mais interno (auxiliar) estão deslocados 90º elétricos. Na figura 79, pode-se identificar os fios de ligação dos enrolamentos, que sobem por dentro do eixo. Inclusive, pode-se comparar ao esquema da figura 84, da próxima seção. São três fios, um deles é comum aos dois enrolamentos.
Quanto à disposição das bobinas, verifiquei que há outro modo de enrolar os estatores de ventiladores de teto. A Mega Bobinadeiras [118], um fabricante nacional de máquinas para bobinar estes motores, faz um enrolamendo inclinado, num estator ligeiramente diferente. Já a empresa argentina GMR [119] apresenta uma máquina para fazer o bobinamento mais conhecido, dos dois enrolamentos intercalados.
Variando a velocidade do ventilador de teto
É importante lembrar que o campo girante tem sua velocidade determinada pela frequência da rede elétrica. E que a velocidade dos motores de indução é determinada pela velocidade do campo girante. Assim, a forma mais eficiente de controlar a velocidade é mudar a frequência da corrente alternada com a qual o motor é alimentado.
Mas como o custo dos inversores de frequência ainda é alto, utilizam-se métodos mais simples e baratos para fazer algo semelhante. Todos estes outros métodos controlam a tensão sobre o enrolamento auxiliar do motor, modificando conjuntamente a o torque disponível e a velocidade.
A figura 81 ilustra como o controle de tensão modifica a velocidade nestes motores. Há duas curvas de torque do motor, uma com 100% da tensão e outra com a metade disso.
Em função da redução do torque com menores tensões de entrada, é aceitável uma velocidade até 50% abaixo da nominal. Por isto, com a metade da tensão o escorregamento chega perto de 20%. É um valor alto de escorregamento e certamente alguns fabricantes o utilizam para alcançar baixas rotações.
Basicamente, há três formas de controlar a tensão sobre o enrolamento auxiliar dos motores de indução. Uma delas é com um circuito eletrônico que atua através do ceifamento de pequenos trechos da onda senoidal, normalmente utilizando um TRIAC para isto (como o circuito da figura 82, para uso em 120VCA). É um circuito que gera ruído na linha (interferência eletromagnética), apesar de conseguir um controle contínuo da rotação. Na referência [120], tem uma nota técnica da Freescale, sobre a implementação de um controle de velocidade com microcontrolador e detector de passagem por zero, que gera menos ruído.
Outra forma empregada para alterar a velocidade é através do uso de um autotransformador, como mostra a figura 83. O autotransformador pode ser externo (um componente separado) ou enrolado no próprio estator. Esta possibilidade é abordada na página da Electrical Contractor [121] e é utilizada em máquinas de lavar e alguns modelos de ventiladores.
Mas o modo mais comum de controle de velocidade em ventiladores de teto é com capacitores, combinados com uma chave de múltiplas posições, que seleciona a capacitância final. O diagrama esquemático da figura 84 mostra um tipo simples de ventilador de teto, muito comum nas lojas. Não confundir com o modelo de motor de 2 capacitores (capacitor permanente e de partida), pois aqui não há chave centrífuga.
Conforme a potência e o número de polos do motor, o valor dos capacitores poderá mudar, mas o circuito é essencialmente o mesmo. Há modelos com mais capacitores (mais opções de velocidade).
![Figura 82 – Diagrama esquemático de controle eletrônico de velocidade de ventilador de teto. Fonte: Schematic.pics [122].](https://dicasdozebio.com/wp-content/uploads/2014/12/fig82-ceilingfanspeedcontrol.png?w=595&h=418)
Figura 82 – Diagrama esquemático de controle eletrônico de velocidade de ventilador de teto. Fonte: Schematic.pics [122].
![Figura 83 – Diagrama esquemático de motor de indução com capacitor permanente e autotransformador, para variar a velocidade. Fonte: ECN [121].](https://dicasdozebio.com/wp-content/uploads/2014/12/fig83-1pm06.gif?w=595&h=415)
Figura 83 – Diagrama esquemático de motor de indução com capacitor permanente e autotransformador, para variar a velocidade. Fonte: ECN [121].
![Figura 84 – Diagrama esquemático de um ventilador de teto típico, marca LG, de acionamento por chaves. Fonte: Electrical Forensics [123].](https://dicasdozebio.com/wp-content/uploads/2014/12/fig84-smc-fan-sch-lg.jpg?w=595&h=447)
Figura 84 – Diagrama esquemático de um ventilador de teto típico, marca LG, de acionamento por chaves. Fonte: Electrical Forensics [123].
A velocidade é alterada agrupando os capacitores em paralelo ou escolhendo um deles. No caso da figura 84, a velocidade mais baixa liga só o capacitor de 1uF, a média tem só o capacitor de 2uF e a velocidade máxima tem os dois ligados em paralelo, totalizando 3uF. São portanto 3 valores de capacitância, que resultam em 3 velocidades diferentes.
Quanto maior o valor do capacitor, mais alta a tensão sobre o enrolamento auxiliar, aumentando o efeito daquele enrolamento e resultando em maior velocidade do rotor.
O controle da tensão e não da frequência de alimentação é uma forma meio capenga de variar a velocidade, mas é barata e funciona bem. Até o capacitor estragar…
Defeito no ventilador
Atualmente, os capacitores permanentes para os pequenos motores de indução são feitos com filmes plásticos (polímeros). Estes capacitores podem ser montados separadamente ou em um só invólucro, como é muito comum. Há capacitores múltiplos com até 5 unidades numa peça, mas o mais encontrado é o capacitor duplo (figuras 85 e 86). Os valores do capacitor múltiplo são sempre desiguais, o que facilita escolher um deles ou associá-los em paralelo, resultando em diversos valores de capacidade.
A tensão de trabalho destes capacitores deve ser especificada em VCA RMS (tensão alternada eficaz), cujo valor precisa ter uma certa folga em relação à tensão da rede elétrica. Por exemplo, o capacitor deitado na figura 85, aceita tensão de 250VCA, o que pode ser insuficiente para os pulsos gerados numa rede elétrica de 220VCA. É uma razão para ir perdendo a capacitância ao longo do tempo de uso.
Durante o funcionamento do ventilador, muitas vezes ocorrem surtos de tensão sobre as placas do capacitor. Se a tensão de ruptura do dielétrico é atingida em algum ponto, é provocado um curto-circuito interno, por breve instante. Naquele momento, o alumínio evapora na região, fazendo um buraco e diminuindo a capacitância (como visto mais acima em auto-recuperação dos capacitores). Isto irá repetir-se ao longo do tempo.
Chega uma hora que o capacitor só terá uma lembrança de seu valor original e ocorre um dos defeitos típicos: o ventilador não gira mais, ou gira lentamente, ou só com ajuda, ou faz um zumbido muito feio.
Na prática, a solução de mais de 80% dos defeitos em ventiladores de teto (e outros, que usam capacitor) é a troca do capacitor. Do mesmo modo, esta avaliação serve para os defeitos em motores de indução de capacitor permanente de outros equipamentos, como máquinas de lavar que de repente começam a zumbir ou não fazem alguma das operações.
Testando os capacitores
Em dois ventiladores de teto, encontrei capacitores com valores muito abaixo do nominal. Eles não tinham qualquer sinal de estufamento ou de queimado. Nestes capacitores de filme plástico, poderá aparecer (mas nem sempre) uma bolha ou inchaço em alguma parte do invólucro. As figuras 87 e 88 mostram os testes realizados com o capacímetro, em um capacitor duplo. Ficou só um cheiro de capacitância…
Dica importante: aparentemente, os capacitores duplos seguem uma regra de cores para a ligação interna, como se viu nas figuras 85 e 86. O fio vermelho é comum aos dois capacitores, o preto é sempre o valor menor e o verde o maior. É necessário respeitar as cores da montagem original, quando for trocar o componente.
Nas lojas de material elétrico, dificilmente conseguiremos capacitores idênticos. A solução será comprar uma peça com valores um pouco mais altos, pois no futuro, conforme o uso, os capacitores voltarão a perder sua capacitância, obrigando a nova troca. E nada impede de montar dois capacitores individuais de polipropileno, na configuração mostrada na figura 86, pois o capacitor duplo é somente mais prático. Só que quando dá problema num só deles, a peça toda tem que ser trocada.
A capacitância maior aumenta a velocidade do motor e capacitância menor, o contrário. Mas não é possível modificar demasiadamente a velocidade variando o valor do capacitor, há limites.
Se o valor for muito alto, o capacitor fará circular uma corrente elevada pelo enrolamento auxiliar, danificando-o, ao passo que um valor muito baixo poderá causar o efeito de ressonância com aquele enrolamento, queimando-o também.
Conforme a página Ceiling Fans ‘N’ More [124] é aceitável, na troca dos capacitores, uma diferença máxima de 1uF entre o original e o substituto. Se o leitor pretende calcular o valor ideal do capacitor, tem um vídeo muito interessante, em inglês, postado por Hemant Pant [125], que demonstra o modo de fazê-lo. Há uma certa dificuldade, por causa das medições necessárias aos cálculos. O interessante do Hemant é que ele tem outro vídeo que mostra como utilizar o ventilador sem capacitor [126], é hilário, mas funciona…

Figura 88 – Capacitor em teste, terminais vermelho e preto (menor capacitância). O valor original era 1 uF.

Figura 89 – Capacitor de 440VCA de uso industrial, que pode ser utilizado em ventiladores de teto, ao lado de dois capacitores duplos, comuns nestes equipamentos.
![Figura 91 – Placa de ventilador de teto Panasonic, montada junto à luminária. Fonte: Jestine Young [127].](https://dicasdozebio.com/wp-content/uploads/2014/12/fig91-panasonic-ceiling-fan-board.jpg?w=595&h=515)
Figura 91 – Placa de ventilador de teto Panasonic, montada junto à luminária. Fonte: Jestine Yong [127].
Para evitar que os capacitores estraguem novamente, seria interessante utilizar componentes com tensões de trabalho maiores, de modo a evitar danos ao dielétrico. Mas, infelizmente, são mais caros e poderão não caber no espelho, devido ao tamanho avantajado.
A figura 89 mostra um capacitor simples de 3uF e 440VCA. Ele só tem um capacitor interno (não é múltiplo como os dois ao lado e é maior que eles. Na figura 90, é mostrado o alojamento típico para o capacitor, junto do painel de comando do ventilador, eventualmente protegido por uma capa.
A falha nos capacitores é muito frequente, inclusive no exterior. Por exemplo, um ventilador da Panasonic, com controle remoto, que utiliza capacitores individuais para as velocidades, também estragou. O blog de Jestine Yong (figura 91) aborda o defeito. Ou seja, mesmo marcas de renome podem dar defeito. Um texto da Conscius Junkyard [128] aborda o problema dos capacitores para ventiladores. E nas referências [129] a [133] tem links para fornecedores de capacitores múltiplos.
Dicas para escolher um ventilador de teto
Na compra de qualquer produto, seria ideal dispor de informações padronizadas para embasar tecnicamente a escolha da marca e modelo mais aproriado, conforme o uso pretendido. Com os ventiladores de teto não é diferente.
Fui buscar as especificações técnicas em manuais de diversos fabricantes de ventiladores de teto, inclusive estrangeiros, mas não encontrei todas que desejava. É uma bagunça, enquanto um informa a vazão, o outro dá o volume do ambiente que o modelo consegue ventilar. Características como o número de polos do motor, velocidade máxima e mínima das pás, potência consumida pela vazão fornecida, etc., são omitidas ora por um fabricante, ora por outro. Muitos manuais parecem só propaganda, tal é a quantidade de adjetivos elogiando o produto…
Isto dificulta tremendamente a escolha, pois há marcas que primam pelo estilo, ao passo que outras preferem apostar na qualidade.
Assim, recorri ao Inmetro, que aplica os selos do programa de eficiência energética Procel. Em junho de 2014, o Inmetro publicou duas tabelas de certificações de ventiladores de teto, uma para 127V [134] e outra para 220V [135]. É um alívio poder contar com uma informação atualizada e que agrupa a grande maioria dos ventiladores comercializados no país.
O selo Procel para ventiladores de teto é dividido em 3 faixas de classificação (alta, média e baixa velocidade). Só ganha o selo quem tiver classificação A nas 3 faixas. É que o rendimento do motor diminui junto com a velocidade, daí a necessidade do teste em todas elas.
Por exemplo, há marcas que não tem nenhum modelo com certificação A e há marcas que tem todos os seu modelos com os selos Procel classe A. E também há marcas que só tem um modelo que atende a classificação A nas 3 velocidades. Se você pensa em comprar um ventilador, vale a pena conferir os relatórios do Inmetro [134][135]. Na próxima seção é abordada a forma que o Inmetro utiliza para testar os ventiladores de teto.
Segundo o sítio Guia Casa Eficiente [136], para modelos estrangeiros há certificações semelhantes na Energy Star [137] e na UL (Underwriters Laboratories). Não encontrei no sítio da UL (http://ul.com) uma lista de ventiladores de teto (ceiling fans), por isso coloquei links de 2 lojas (All Modern [138] e Wayfair [139]), que permitem escolher os modelos listados que tiverem certificação.
Durante a escolha do ventilador, confirme que ele tenha a vazão recomendada para seu ambiente, conforme a tabela abaixo:
![Figura 92 – Tabela de tamanhos da hélice de ventiladores de teto e área ventilável. Fonte: Guia Casa Eficiente [136].](https://dicasdozebio.com/wp-content/uploads/2014/12/fig92-ventiladorestetotamanho.jpg?w=595)
Figura 92 – Tabela de tamanhos da hélice de ventiladores de teto e área ventilável. Fonte: Guia Casa Eficiente [136].
E cuide o prazo de garantia (quanto mais longo, melhor). Mesmo com o custo inicial mais alto, você sairá economizando, pois há marcas que garantem o produto por várias décadas.
Além destas dicas, seria interessante conhecer algumas opiniões que ajudam a escolher o melhor ventilador de teto para sua necessidade. O Guia Casa Eficiente [136] tem ótimos artigos (guias), que levam o assunto pela ótica do comprador, com análise de diferentes pontos de vista e que auxiliam muito na hora da compra. Há toda uma preocupação em abordar tecnologias ambientalmente eficientes para uso em edificações.
Já o blog do Gilson Eletricista [140] é bastante prático, pois ele tem experiência na instalação de ventiladores. Na Via Vento [141], Revista Pense Imóveis [142] e loja HiperJN [143], são abordados outros aspectos dos ventiladores de teto, como inclinação das pás, materiais utilizados, etc.
Outra dica: é melhor evitar de colocar na luminária dos ventiladores de teto as lâmpadas incandescentes comuns, por causa do filamento, que fica muito mole quando a lâmpada está ligada. Afinal, o filamento ligado é metal incandescente (tungstênio). As vibrações são causa de frequentes queimas destas lâmpadas.
As lâmpadas incandescentes de filamento reforçado são mais resistentes, mas são difíceis de achar (elas tem um martelo desenhado no bulbo, como a linha Centra, da Osram). As incandescentes halógenas, só se forem as bem pequenas, pois as que vem num soquete comum (E27), também costumam queimar, já que aquecem demais devido à existência de dois bulbos.
Se quiser instalar as fluorescentes compactas, é necessário lembrar que elas jamais podem cair e quebrar no recinto, pois deixarão o lugar contaminado por algum tempo com mercúrio (o mercúrio é volátil). Não é muito, mas o metal é cumulativo no organismo.
Melhor seria instalar lâmpadas LED, mas é necessário avaliar o custo-benefício, pois elas ainda tem um preço elevado, que está reduzindo lentamente. As lâmpadas LED muito baratas iluminam pouco ou tem um índice de reprodução de cores sofrível.
Como o INMETRO testa os ventiladores de teto
Os ventiladores de teto devem seguir a NBR 14532 [144], de forma compulsória desde 2008 para os fabricantes e importadores e desde 2009 para os lojistas.
Para ver a importância das normas técnicas, é interessante conhecer uma avaliação de 9 ventiladores de teto, feita em 2003 pelo INMETRO [145]. Naquela época, os modelos foram reprovados, em vários requisitos, resultando em todos os ventiladores inconformes.
Como fazem mais de 10 anos, muitas marcas nem existem mais. Alguns ventiladores importados, de boa qualidade, não passaram nos testes por causa de pequenas incompatibilidades com as normas brasileiras de segurança em eletrodomésticos. Além das medições elétricas e das verificações de características construtivas (se tem áreas cortantes, se os fios estão de acordo, se a ligação do aterramento é adequada, etc.), os testes submeteram os ventiladores a provas de fogo, literalmente.
Imagine: o ventilador é ligado com o rotor travado por 1 hora e medida a temperatura do motor. Em seguida, é aplicada uma tensão de 1000V durante um minuto, para ver se houve dano na isolação. Depois, por 30 segundos a luminária do ventilador é exposta ao fogo, para simular acidente e verificar se o aparelho pega/propaga a chama. Os ventiladores que passaram por esta prova são praticamente indestrutíveis…
Este aparente exagero tem sua razão de ser: no caso de ocorrer qualquer calamidade (incêndio, enchente, temporal, etc.) onde o ventilador estiver instalado, ele não poderá tornar-se o agente causador de mais danos. Em princípio, qualquer equipamento vendido ao consumidor, especialmente os eletroeletrônicos, tem que respeitar rígidas normas de segurança. No final, o objetivo é evitar ao máximo qualquer morte decorrente de problemas com tais equipamentos.
Para isto é que existem as normas técnicas, ou não se consegue exigir um mínimo de qualidade dos produtos para venda ao consumidor. O objetivo é coibir a ação de fabricantes inescrupulosos, que somente pensam no seu lucro e desconsideram completamente a vida alheia.
Qualidade e diversidade em ventiladores de teto
Quando li o post do Jestine Yong [127] sobre o defeito em ventilador Panasonic, não pude deixar de comparar aquele modelo com outro, de renomado fabricante nacional, que também tem controle remoto. Há o que melhorar em qualidade, pois as diferenças ainda são grandes.
Enquanto o modelo estrangeiro tem uma grande placa de circuito impresso, integrada ao corpo do ventilador, junto à luminária, que é opcional (figuras 93 e 94), no modelo brasileiro o circuito do receptor do controle remoto é muito compacto e deve ficar junto do suporte do teto, num módulo separado, por cima da hélice (figuras 95 e 96). Este circuito de controle funciona com raios infravermelhos, ao passo que o nacional funciona com radiofrequência.
A placa integrada do Panasonic, posicionada em lugar mais acessível, facilita a manutenção, além de contar com conectores para todas as ligações. O módulo do nosso ventilador também utiliza conectores, mas os dois fios de alimentação são ligados a uma barra Sindal [146], de parafusos.
![Figura 94 – Detalhe da localização da placa de controle do ventilador Panasonic. Fonte: Mudah [147].](https://dicasdozebio.com/wp-content/uploads/2014/12/fig94-mudah-my-1790913515.jpg?w=595&h=446)
Figura 94 – Detalhe da localização da placa de controle do ventilador Panasonic. Fonte: Mudah [147].
Em tempos de economia de energia, é importante saber qual o consumo de um aparelho que será utilizado por muitos anos. Apesar do modelo da Panasonic ter 4 pás e diâmetro de 140cm, ele gasta 73W, contra 130W do nacional, com 3 pás e diâmetro de 120cm. E este último tem o selo Procel. Os dois ventiladores utilizam motores de indução com capacitor permanente.
Um recurso muito interessante é o sleep. No Panasonic, esta função não é somente um temporizador para desligar o aparelho depois de algum tempo. Há a possibilidade de reduzir a velocidade do ventilador aos poucos, conforme passam as horas, até finalmente parar. É muito útil para quando dormimos, pois nossa temperatura corporal cai durante o sono. Apesar disso, este recurso é melhor empregado em modelos com mais opções de velocidades (eles tem modelos com até 7).
Estas características foram extraídas do síto do fabricante [148] e referem-se ao modelo Panasonic Bayu F-M14C8 WT. É um modelo de custo mediano, menos da metade do topo de linha. Uma pena que não são comercializados no Brasil.
As imagens do Panasonic são provenientes do sítio malasiano Mudah [147]. Também da Malásia, tem o blog de Devon Buy [149], que postou um artigo em inglês, em 3 partes, que mostra, com muitas fotos, como fazer a instalação e os ajustes deste ventilador de teto. É interessante ver a robustez da âncora no teto para o canopi do ventilador.
Agora, pense num ventilador, que ao invés de girar, fique abanando. Esta possibilidade (figura 97) foi criada pela Fanimation [150], uma empresa americana, muito inventiva, que tem uma grande variedade de modelos, de controles, de pás, de motores e de modos de acionamento. Cada modelo escolhido tem opções para os outros itens, o que possibilita o comprador ajustar o produto às suas necessidades. Eles tem representante no Brasil, a Gerbar [151]. Há modelos que pode fazem girar várias hélices com um só motor (figura 98). Outro, até ficou famoso no cinema, no filme “Eu, robô” (figura 99).
Talvez o modelo que mais cause impacto é aquele da figura 100, chamado de Odyn (olha a modéstia…): usa motor em corrente contínua (uma nova tendência), reversível e com 6 velocidades. As pás alcançam mais de 2 metros de diâmetro. Na velocidade máxima, gira a 62 voltas por minuto (quase um segundo por rotação), desloca 286 m³/min e consome 32W…
Taí o porque daqueles ventiladores que vemos toda hora nos filmes, que giram lentamente. E eu sempre achava que a rotação era modificada para não interferir com o número de quadros da película, pois poderia parecer que estava parado… O verdadeiro motivo das baixas rotações será comentado logo adiante.
Outra marca americana tradicional é a Hunter, que produz ventiladores de teto desde 1886, quando ainda eram movidos por roda d’água. A empresa utiliza a lubrificação dos rolamentos com banho de óleo, cujo nível tem que ser verificado de tempos em tempos. O fabricante afirma que é por isto que o ruído é reduzido e a garantia é tão extensa (30 anos). Eles tem uma página no Brasil, ver referência [152].
Na página da Ceiling Fan [153], pode-se consultar o valor dos modelos da Fanimation, Hunter e várias outras marcas, como Casablanca, Emerson, MinkaAire, Modern Fan, Deco Breeze, Monte Carlo e muitas outras. Tem também vários guias para saber como escolher o modelo mais apropriado.
Com relação à diversidade de motores, a página da Lamps Plus [154] compara as diferenças construtivas dos modores de indução de ventiladores de teto e o sítio da Del Mar Fans [155] mostra uma lista de modelos de motores utilizados nos ventiladores de teto. Na verdade, as disparidades são principalmente os detalhes construtivos de motores de indução.
O único motor realmente diverso é o modelo de corrente contínua sem escovas (BLDC – Brushless Direct Current Motor), que pode ser 300% mais eficiente que os motores de indução normais. Tem um artigo na Seek Digital Library [156] que mostra uma implementação prática deste motor em ventiladores.
O motivo das baixas rotações
Quantas vezes vimos nos filmes aqueles ventiladores que giram lentamente? E quantas vezes nos perguntamos porque nunca encontramos aqueles aparelhos aqui no Brasil? Parecia folclore de cinema, que talvez mostrasse a baixa rotação para criar um certo clima modorrento. Mas não só.
No exterior, é muito comum associar o ventilador com o aparelho de ar condicionado e/ou aquecedor, pois eles se complementam. A figura 101 mostra uma imagem muito didática, da Aeratron, fabricante australiano de ventiladores de teto, como aquele da figura que abre este artigo.
![Figura 101 – Demonstração da coexistência de sistemas de aquecimento e refrigeração com ventilação. Fonte: Aeratron [157].](https://dicasdozebio.com/wp-content/uploads/2014/12/fig101-summer-winter.jpg?w=595&h=446)
Figura 101 – Demonstração da coexistência de sistemas de aquecimento e refrigeração com ventilação. Fonte: Aeratron [157].
No verão, o ventilador potencializa o efeito de evaporação do suor pela pele (aquele suor normal, que não aparece) e permite que o ar condicionado seja ajustado em temperatura 4 a 8ºC mais alta que a usual. Assim, apesar do aparelho estar ajustado em 28ºC, a temperatura percebida pelo corpo será de 22 a 24ºC, dependendo da umidade ambiente. Pelo que foi possível verificar, o motivo de ter um ventilador rente ao teto e com baixa rotação é criar um suave redemoinho para conseguir o efeito desejado de catalisar a transpiração da pele com a ventilação.
No período de baixas temperaturas, a rotação do ventilador é invertida, para puxar o ar pelo centro e fazê-lo descer pelas paredes. Assim, no inverno a ventilação uniformiza a temperatura ambiente, pois a brisa distribui o ar mais quente retido na parte superior da peça. Isto evita a criação de áreas mais quentes que outras e a necessidade de colocar o aquecimento no máximo, para ter um razoável (e heterogêneo) conforto térmico no recinto.
Segundo informações daquela página, cada degrau de temperatura abaixo no aparelho de ar condicionado economiza de 8 a 10% de energia elétrica. Para um país tropical como o nosso, é interessante conseguir economizar tanto no verão. No inverno, seria possível reduzir o gasto com energia em 30%, até 50% em alguns casos.
Lá no exterior, aparentemente, o ar condicionado é utilizado para refrigeração somente, ao passo que o aquecimento é feito através de calefatores. Por isto a figura 101 mostra dois aparelhos separados.
Nós, que temos um clima mais ameno, usamos aparelhos de ar condicionado para os dois casos, só que a localização do trocador de calor é inadequada para uma das duas condições: se precisa esfriar, ele deve ficar no alto, ao passo que se é necessário aquecer, o melhor lugar é rente ao chão e perto das aberturas. Lembre-se, o ar quente é leve e o frio, pesado.
Se utilizássemos ventiladores de baixa rotação – que fazem brisa e não vendaval -, juntamente com o split no teto (pois no Brasil o calor é mais frequente), poderíamos ter grande economia de energia.
Atualmente (2014), a Aeratron [158] fabrica só dois modelos de ventiladores e segundo a Energy Star [137], são os mais eficientes do planeta: e502, de 2 pás e e503, de 3 pás. Eles utilizam motor CC e o modelo de 3 pás consome 18W na velocidade máxima. Os dois modelos tem diâmetro de 126cm. O que deixa a desejar é a colocação do receptor do controle remoto, exatamente igual àquele modelo brasileiro que critiquei há pouco…
Taí a chance de fazemos alguma coisa pela economia de energia. Vamos começar a exigir (e fabricar) ventiladores de rotações até 150 rpm. Lembre-se, leitor ou leitora: ventilador NÃO É coisa de pobre, quando é utilizado com inteligência…
Notas Finais
Obviamente, tanto estilo, qualidade e diversidade tem um preço, pois alguns dos ventiladores comentados neste artigo podem custar mais caro que um aparelho de ar condicionado, como aquele abanador da Fanimation (figura 96). Há modelos para todos os bolsos e gostos: tem para quem é nostálgico, ou gosta de avião, de navio, da natureza, ou é muito moderno e ecológico (como o da figura que abre o artigo). Na referência [159], a Ceiling Fans Direct traz uma lista dos seis mais inovadores ventiladores de teto.
Para quem não tem muitos recursos, vai só de ventilador mesmo, ou até de ventilador climatizador, que tem aspersor de água, como as marcas Joape, Mariz, Multiar, Solaster, Vesper, etc. É um aparelho que funciona bem quando a umidade está baixa e custa um terço de um ar condicionado.
Mas quando os ambientes precisam cada vez mais de ventilação forçada, resfriamento/aquecimento, algo está errado. Costuma-se atacar os sintomas, não a causa dos problemas.
O conforto dos ambientes de moradia e trabalho, no Brasil, é um desafio frequentemente abordado de maneira incorreta. Um país tropical deveria desenvolver suas próprias soluções de ventilação, para sua população poder trabalhar e dormir mais confortavelmente. Inclusive, isto aumentaria sua produtividade. Já basta o estresse diário do trânsito e das 8 horas de labuta.
Posso contar nos dedos os lugares bem planejados, pois o estilo parece mais importante que a funcionalidade.
Muitas vezes, o conforto (ou a falta dele) só é percebido após a construção do prédio. Para corrigir o problema, instalam aparelhos de ar condicionado e está “resolvido” (apesar de gastarem os tubos em energia elétrica…).
Durante a construção, não é dada a devida importância para:
– Os ventos dominantes; a disposição das janelas e portas (com vistas à otimização da ventilação);
– A necessidade de isolamento térmico do telhado (que deveria ser feito com lã de vidro ou lã de rocha, ou ainda com cobertura verde – grama -, nunca com isopor ou plástico espelhado);
– O aumento da espessura de determinadas paredes ou a confecção de paredes duplas, ou ainda o uso de cortinas verdes (telas com trepadeiras);
– O uso adequado de árvores do entorno para dosar as áreas ensolaradas/sombreadas conforme as estações;
– A utilização da radiação solar e da água das chuvas;
– Etc. e muitos outros etc..
Permitir o aparecimento dos problemas, para resolvê-los mais tarde – geralmente da forma mais cara e ineficaz – é um hábito frequente hoje em dia:
– Deixamos faltar água para depois ver que não temos mais matas (que são as criadoras de água limpa, especialmente as matas ciliares);
– Largamos esgotos nos rios para depois os tratarmos em monstruosas estações de tratamento de efluentes, ao invés de ter pequenos sistemas individuais, nos locais em que são gerados;
– Construímos edifícios que mais parecem caixões espelhados, para depois cobrirmos todos os vidros com películas contra a radiação solar e instalarmos potentes aparelhos de refrigeração;
– Reclamamos das enchentes, mas não fazemos nada para as cidades transferirem as águas das chuvas para o lençol freático.
A lista é longa, são tantos assuntos que seria necessário uma coleção de posts para sua abordagem. Fica para outra vez.
Ainda assim, como hoje falamos de ventilação, trago uma dica que considero essencial para saber se algum ambiente é bem ventilado. Precisa usar um pouco de imaginação…
Sabemos que o ar quente é mais leve e sobe. E a água, pela gravidade, sempre desce.
Então, imagine sua casa de ponta-cabeça. Agora, encha-a de água (isso é relativamente simples de fazer num programa de CAD). Os locais onde a água ficar empoçada serão os bolsões de ar quente (lugares abafados). E a rapidez com que a água sair da casa indicará diretamente a qualidade da ventilação (aberturas mais altas, junto do teto e com bastante área, são um aliado importante).
Esta ideia não é minha, é de um arquiteto, Gildo Montenegro [160], que escreveu “Ventilação e Cobertas“, um livro facílimo de ler, que costuma ser utilizado nas disciplinas de cursos de Arquitetura… Vale a pena conhecer a publicação, está disponível em pdf.
Referências
[1] Atlantico – Maths pour les nuls (6 gifs animados para enfim compreender a trigonometria – em francês) – http://www.atlantico.fr/decryptage/maths-pour-nuls-six-gifs-pour-enfin-comprendre-trigonometrie-726426.html
[2] Brasil Escola – Trigonometria – http://www.brasilescola.com/matematica/trigonometria.htm
[3] Khan Academia – Trigonometria – https://pt.khanacademy.org/math/trigonometry/basic-trigonometry
[4] Feira de Ciências – Onda senoidal parte 1 – http://www.feiradeciencias.com.br/sala14/14_T03.asp
[5] Videlicet – Prof. João Kögler – Séries de Fourier e Transformada de Fourier – http://jkogler.wordpress.com/2008/06/23/serie-de-fourier-e-transformada-de-fourier-i/
[6] Só Matemática – Razões trigonométricas – http://www.somatematica.com.br/fundam/raztrig/razoes.php
[7] Feira de Ciências – Sinais Elétricos – http://www.feiradeciencias.com.br/sala15/15_07.asp
[8] Sercomtel – Transformada de Fourier –
http://pessoal.sercomtel.com.br/matematica/superior/fourier/tfourier.pdf
[9] Prof. Everton G. de Santana – Análise de Fourier – http://200.17.141.35/egsantana/ondas/fourier/Fourier.html
[10] UFMG – Universidade Federal de Minas Gerais – Análise de Fourier – http://www.mat.ufmg.br/~lima/apostilas/fourieranalise.pdf
[11] UFPE – Universidade Federal de Pernambuco – Séries de Fourier http://www.di.ufpe.br/~if143/projetos/saulofft1d/index.html
[12] MathWorks – Square Wave From Sine Waves – http://www.mathworks.com/help/matlab/examples/square-wave-from-sine-waves.html
[13] Imgur – Outras animações sobre matemática, algumas estão no Atlantico.fr – http://imgur.com/a/VTMUq#2
[14] Math is Fun – Trigonometry interactive with Unit Circle (Passa o mouse e verifica a posição do seno, cosseno e tangente)
http://www.mathsisfun.com/algebra/trig-interactive-unit-circle.html
[15] Youtube – Animação do círculo trigonométrico, mostrando Seno, cosseno e tangente – https://www.youtube.com/watch?v=Uu9RKYAKPw8
[16] Youtube – Função seno
https://www.youtube.com/watch?v=1E9VvzfnYlY
[17] Reddit – Educational Gifs –
http://www.reddit.com/r/educationalgifs/comments/24uyp8/weve_all_probably_seen_the_unit_circle_turned/ – esta página Reddit refere-se a vários gifs interessantes:
http://31.media.tumblr.com/1789b63316899d072a23db31f6aec0c4/tumblr_mi301zN7vJ1s5nl47o1_500.gif
http://24.media.tumblr.com/a6d59d662a4ca1b256532f9398ad053a/tumblr_mi3brvLinZ1s5nl47o1_500.gif
[18] Wikipedia – Circle radians (Gifs animados diversos) – http://en.wikipedia.org/wiki/User:LucasVB/Gallery#mediaviewer/File:Circle_radians.gif
[19] Youtube – Sine cosine generator – https://www.youtube.com/watch?v=yycJsT6Ilk4
[20] Youtube – Prof. Juan Carlos Velásquez Hernández – Círculo Trigonométrico Parte 1 – https://www.youtube.com/watch?v=RY_cl4GFM1U
Parte 2 – https://www.youtube.com/watch?v=gt65PgvdmnU
[21] Youtube – Sine Cosine and the Unit Circle – https://www.youtube.com/watch?v=z82I6u4DFTo
[22] Digital Library – Album of flash animations – http://digilib.gmu.edu/jspui/html/1920/2973/album-of-flash-animations.html
[23] Youtube – Unit Circle and Sine Wave – https://www.youtube.com/watch?v=Ohp6Okk_tww
[24] Youtube – The Histoy of Pi – https://www.youtube.com/watch?v=2fCTnF75AL0
[25] Songho – Euler’s Equation – http://www.songho.ca/math/euler/euler.html
[26] University of St-Andrews – Capacitor Designs – http://www.st-andrews.ac.uk/~www_pa/Scots_Guide/info/comp/passive/capacit/dielec/di_desig/di_desig.htm
[27] Thomasnet – How to metalize plastic – http://www.thomasnet.com/articles/custom-manufacturing-fabricating/how-to-metalize-plastic
[28] Wikipedia – Film capacitor – http://en.wikipedia.org/wiki/Film_capacitor
[29] Wima – Metallized construction for pulse applications – http://www.wima.com/EN/metallizedpulse.htm
[30] Wikipedia – Types of capacitor (Tipos de capacitor) – http://en.wikipedia.org/wiki/Types_of_capacitor
[31] Suntan – Plastic film capacitors (Capacitores de filmes plásticos) – http://www.suntan.com.hk/Plastic-Film-Capacitors/
[32] Epcos – Metallized polypropilene capacitors MKP MFP (Capacitores de polipropileno metalizado MKP e MFP) – http://www.epcos.com/epcos-en/529464/products/product-catalog/film-capacitors/metallized-polypropylene-capacitors–mkp-mfp-
[33] Wima – Film Capacitors and RoHs – http://www.wima.com/EN/WIMA_Filmcapacitors.pdf
[34] Vishay – Film Capacitors – http://www.vishay.com/docs/26033/gentechinfofilm.pdf
[35] Radio Electronics – Silver-mica capacitor (capacitores de mica prateada) – http://www.radio-electronics.com/info/data/capacitor/silver-mica-capacitor.php
[36] Birkelbach Kondensatortechnik – Metallized Dielectrics – http://www.birkelbachfilm.de/index-en.php
[37] Intechopen – Polymer Based Nanodielectric Composites – http://www.intechopen.com/books/advances-in-ceramics-electric-and-magnetic-ceramics-bioceramics-ceramics-and-environment/polymer-based-nanodielectric-composites
[38] Angelfire – The Lazarus Capacitor – http://www.angelfire.com/electronic/funwithtubes/Restore_cap.html
[39] Antenna Edições Técnicas – http://www.anep.com.br/index.php?Escolha=27&Noticia=N00004
[40] UFPR – Engenharia Elétrica – Capacitores eletrolíticos – http://www.eletrica.ufpr.br/mehl/downloads/capacitores.pdf
[41] Manutenção e Suprimentos – Definição de capacitor eletrolítico – http://www.manutencaoesuprimentos.com.br/conteudo/6101-definicao-de-capacitor-eletrolitico/
[42] Powerguru – Safety Characteristics of Film Capacitors – http://www.powerguru.org/safety-characteristics-of-film-capacitors/
[43] Wima – Selfhealing Process in Metallized Capacitors – http://www.wima.com/EN/selfhealing.htm
[44] ERA Technology – Failure in Metallised Polypropylene Capacitors – http://www.era.co.uk/case-studies/failure-in-metallised-polypropylene-capacitors/
[45] Epcos – Products catalog – http://www.epcos.com/products
[46] Wima – Capacitors – http://www.wima.com/EN/products.htm
[47] Vishay – Capacitors – http://www.vishay.com/capacitors/
[48] PY2BBS – Capacitores – http://www.py2bbs.qsl.br/capacitores.php
[49] MSPC – Ressonância RLC série – Fator de qualidade e largura de banda – http://www.mspc.eng.br/elemag/ac_0620.shtml
[50] ESTV – Escola Superior de Tecnologia e Gestão de Viseu – José Eduardo Monney de Sá Paiva – Motores elétricos síncronos – http://www.estgv.ipv.pt/PaginasPessoais/eduardop/MqE/Motores%20s%C3%ADncronos.pdf
[51] Wind Power – Generadores síncronos – http://intranet2.minem.gob.pe/web/archivos/dge/publicaciones/uso/1/01/02/08/es/tour/wtrb/syncgen.htm
[52] Prof Everton G. De Santana – Correntes de Foucault – http://200.17.141.35/egsantana/elecmagnet/induccion/foucault/foucault.htm
[53] Youtube – Tecnologia na Web – O ímã de neodímio em tubo de cobre – https://www.youtube.com/watch?v=5EjavZcWy6Y
[54] Espaço Científico Cultural – Belmiro Wolski – Reinterpretando o paradoxo de Faraday – www.ecientificocultural.com/ECC3/faraday.htm
[55] Bubblegate – Domenico di Mario – La Strana Bolla (A estranha bola) – http://digilander.libero.it/bubblegate/weird1.html
[56] Móstoles Museo – Electomagnetismo – http://www.mostolesmuseo.com/maquinas_cientificas/08induccion_electromagnetica.htm
[57] Universidade do Porto – Faculdade de Engenharia – O Gerador de Faraday – http://paginas.fe.up.pt/histel/geradFaraday.pdf
[58] Sapiensman – Corrientes de Foucault – Imagem do velocímetro – http://www.sapiensman.com/electrotecnia/transformador_electrico5.htm
[59] De Maquinas y Herramientas – Odómetro, tipos e usos – http://www.demaquinasyherramientas.com/herramientas-de-medicion/odometro-tipos-y-usos
[60] ITA – Instituto Tecnológico da Aeronáutica – Laboratório de Física – Método de Lissajous – http://www.fis.ita.br/labfis45/exps/e3.htm
[61] Fizyka-lo – Krzywe Lissajous – http://www.fizyka-lo.republika.pl/krzywe_lissajous.html
[62] Feira de Ciências – Figuras de Lissajous em 3D – http://www.feiradeciencias.com.br/sala10/10_07.asp
[63] UFMG – o Aparato de Lissajous – http://posgrad.fae.ufmg.br/posgrad/viienpec/pdfs/349.pdf
[64] Exploratoriun – Laser Lissajous – http://www.exo.net/~donr/activities/Laser_Lissajous_PVC.pdf
[65] Exploratorium – Annotated List of Activities – http://www.exo.net/~donr/activities/
[66] Waldeck’s Homepage – Driver MOSFET para motor brushless – http://www.dm.ufscar.br/~waldeck/pic/ponte-h/
[67] Ibiblio – Dennis Crunkilton – AC Motors – http://www.ibiblio.org/kuphaldt/electricCircuits/AC/AC_13.html
[68] Aprenda Ingenieria – Video do motor de indução trifasico em CAD, em espanhol – https://www.youtube.com/user/AprendaIngenieria
[69] Learning Engineering – Visão em CAD do funcionamento de um motor de indução trifásico – http://www.learnengineering.org/2013/08/three-phase-induction-motor-working-squirrel-cage.html
[70] Learning Engineering – Visão em CAD do funcionamento do motor de indução monofásico – http://www.learnengineering.org/2013/08/single-phase-induction-motor.html
[71] IFRN – Instituto Federal de Educação, Ciência e Tecnologia do Rio Grande do Norte – Catálogo motores elétricos WEG – http://docente.ifrn.edu.br/giancarlosbarbosa/disciplinas/maquinas-e-acionamentos-eletricos/WEGmotoreseletricosbaixatensaomercadobrasil050catalogoportuguesbr.pdf
[72] UFPEL – Universidade Federal de Pelotas – Prof. Eurico G de Castro Neves – Motores de indução monofásicos – http://minerva.ufpel.edu.br/~egcneves/disciplinas/mte/caderno_mte/motor_mono.pdf
[73] HD equipamentos – Manual técino de motores WEG – http://www.hd.ind.br/PDF/manual_TECNICO-motores.pdf
[74] HP Eletricidade Industrial – Motor para Tanquinho – http://www.hpeletricidade.com.br/site/produto_dest.php?cod=239
[75] UFRGS – Fernando Lang da Silveira (UFRGS – Instituto de Física) e Nelson Luiz Reyes Marques (IFSUL – Instituto Federal Sul-riograndense)– Motor elétrico de indução – http://www.if.ufrgs.br/~lang/Textos/Motor_induc.pdf
[76] Youtube – Experimento com motor de indução, dos professores da UFRGS e IFSUL – https://www.youtube.com/watch?v=uVNehiUl4lY
[77] Johnson Electric – Shaded Pole Motors – http://www.johnsonelectric.com/en/resources-for-engineers/motors/motor-design-considerations/shaded-pole-motors.html
[78] UFES – Universidade Federal do Espírito Santo – Prof Vinicius Secchin de Melo– Máquinas de corrente alternada – http://www2.ele.ufes.br/~vinicius/Ufes/capitulo%206%20maquinasCA.pdf – caso este link não funcione, ver no Yumpu – https://www.yumpu.com/pt/document/view/29079669/capitulo-6
[79] Tuveras – El Motor Asíncrono Monofásico – http://www.tuveras.com/maquinaasincrona/sombraanimacion/sombraanimacion.htm
[80] Feira de Ciências – Motor de disco ou cilindro – http://www.feiradeciencias.com.br/sala22/motor15.asp
[81] ANEEL – Agência Nacional de Energia Elétrica – Aprenda a calcular o consumo de seu aparelho e economize energia – http://www.aneel.gov.br/arquivos/PDF/17-05_materia1_3.pdf
[82] Electronic Design – PFC – A little old-school knowledge – Part I – http://electronicdesign.com/boards/pfc-little-old-school-knowledge-part-i
[83] Electrical Engineering Portal – Overview of Single Phase Induction Type Energy Meter – http://electrical-engineering-portal.com/overview-of-single-phase-induction-type-energy-meter
[84] Popular Science – Electric Meter Dissection – http://www.popsci.com/diy/article/2009-10/electric-meter-dissection?dom=PSC&loc=recent&lnk=1&con=the-dissection-a-home-electric-meter
[85] Electrónica – Correntes de Foucault – http://www.electronica-pt.com/content/view/43/
[86] NIDEC Corporation – 2-3-4 Motor Using Arago’s Disc – http://www.nidec.com/en-NA/technology/motor/basic/00028/
[87] Hackedgadgets – Inside an Electric Power Usage Meter – http://hackedgadgets.com/2009/10/15/inside-an-electric-power-usage-meter/
[88] Ben Krasnow – Explanation of how kilowatt-hour meter work – http://benkrasnow.blogspot.com.br/2013/10/explanation-of-how-kilowatt-hour-meters.html
[89] USBR – Watt-hour meter – maintenance and testing – http://www.usbr.gov/power/data/fist/fist3_10/vol3-10.pdf
[90] CERPCH – Centro de Referência em Pequenas Centrais Hidrelétricas – UNIFEI – Geradores – http://www.cerpch.unifei.edu.br/geradores.html
[91] Blog de Emannuel Fernandes – 10a Aula de Máquinas Elétricas CA – http://emannuelfernandes.blogspot.com/2010/09/10a-aula-de-maquinas-eletricas-ca.html
[92] What-When-How – Stator Winding Design Considerations (Electric Motors) – http://what-when-how.com/electric-motors/stator-winding-design-considerations-electric-motors/
[93] Electric Research Fraternity – Single Phase AC Winding – http://www.erfssn.org/tutorials/ac-single-phase-winding/
[94] Inspetor de instrumentação – Bobinagem de motor trifásico meio imbricado – http://www.inspetordeinstrumentacao.com.br/biblioteca/Bobinagem%20de%20motor%20trifasico%20meio%20imbricado%20.pdf
[95] UFSC – Luis Cândido Tomaselli – Estudo de acionamentos a velocidade variável para motores de indução monofásicos com capacitor permanente para aplicações em ventiladores – https://repositorio.ufsc.br/handle/123456789/87339
[96] USP – Escola de Engenharia de São Carlos – Nelson Jue Wong – Acionamento de motor de indução monofásico PSC com inversor de frequência aplicados a máquinas de lavar roupas domésticas – www.tcc.sc.usp.br/tce/disponiveis/18/180450/tce-16112011-103131/publico/Wong_Nelson_Jue.pdf
[97] SH Freitas – Universidade Estadual de Maringá – Eng Luciano Vieira – Motores elétricos – Princípios e fundamentos – http://www.shfreitas.com.br/resources/MOTORES%20EL%C3%89TRICOS.pdf
[98] IFSC – Instituto Federal de Ciência e Tecnologia de Santa Catarina – Máquinas Elétricas – https://wiki.ifsc.edu.br/mediawiki/images/a/a3/Aula_4_Maquinas_Eletricas-H4_e_H6.pdf
[99] Microchip – AC Induction Motor Fundamentals – http://ww1.microchip.com/downloads/en/AppNotes/00887a.pdf
[100] WEG – Rendimento nos motores monofásicos – http://ecatalog.weg.net/files/wegnet/WEG-rendimento-nos-motores-monofasicos-artigo-tecnico-portugues-br.pdf
[101] Tuveras – Motor Asíncrono Monofásico – http://www.tuveras.com/maquinaasincrona/motorasincrono9.htm
[102] IFRN – Instituto Federal de Educação, Ciência e Tecnologia – Prof. Hélio Pinheiro – Motores trifásicos de CA – http://docente.ifrn.edu.br/heliopinheiro/Disciplinas/maquinas-e-acionamentos-eletricos/aula-de-motores-trifasicos-de-ca/view
[103] ISEP – Instituto Superior de Engenharia do Porto – Mário Ferreira Alves – ABC das máquinas eléctricas – http://ave.dee.isep.ipp.pt/~mjf/PubDid/ABC_ME.pdf
[104] Mario Loureiro – Página pessoal – http://www.marioloureiro.net/tecnica/electrif/motores.pdf
[105] IST – Instituto Superior Técnico – ULISBOA – Gil Marques – Máquinas de indução monofásicas – https://fenix.tecnico.ulisboa.pt/downloadFile/3779571249123/SEE_Maquinas_de_inducao_monofasicas.pdf
[106] Facens – Universidade de Sorocaba – Apostila de Máquinas Elétricas – http://alfa.facens.br/~joel/Apostila%20de%20maquinas%20eletricas.pdf
[107] UFRN – Universidade Federal do Rio Grande do Norte – Apostila de manutenção industrial – http://www.dee.ufrn.br/~joao/manut/
[108] Portal da Indústria – Motor elétrico – Guia básico – http://arquivos.portaldaindustria.com.br/app/conteudo_18/2014/04/22/6281/Motor_eletrico.pdf
[109] Liberato – ICET, ULBRA, UFRGS – Novas perspectivas das máquinas elétricas trifásicas a partir da utilização de materiais magnéticos sinterizados – http://www.liberato.com.br/sites/default/files/arquivos/Revista_SIER/v.%206,%20n.%206%20%282005%29/6.%20NOVAS%20PERSPECTIVAS%20DAS%20M%C1QUINAS%20EL%C9TRICAS%20TRIF%C1SICAS%20A%20PARTIR%20DA.pdf
[110] UFRGS – Sérgio Deitos Bittencourt – Caracterização de ligas magnéticas sinterizadas para aplicação em núcleos de máquinas elétricas rotativas – https://www.lume.ufrgs.br/bitstream/handle/10183/60674/000863150.pdf?sequence=1
[111] UFRGS – Múltiplos autores – Estudo comparativo de ligas magnéticas através de simulação por elementos finitos – http://www.ufrgs.br/ldtm/publicacoes/209-010.pdf
[112] Ss. Cyril and Methodius University – L. Petrovxka, G. Cvtkovski – Soft Magnetic Composite Core – A new perspective for small AC Motors Design – http://www.aedie.org/11chlie-papers/206_petkovska.pdf
[113] Höganäs – Compostos Magnéticos Macios – http://www.hoganas.com/pt-BR/Countries/Brasil/Aplicacoes-de-pos/Compostos-Magneticos-Macios/
[114] Höganäs – Metalurgia do pó – http://www.hoganas.com/Documents/Brochures/Brasil/Company_Presentation_Feb_2012_0004HOGPT_web.pdf
[115] Google Patents – Heat-radiating structure for ceiling fan’s motor housing – http://www.google.com/patents/US6798098
[116] Popular Mechanics – Whats inside your ceiling fan – http://www.popularmechanics.com/home/improvement/electrical-plumbing/whats-inside-your-ceiling-fan-2
[117] Blog Wonder Whats Inside – Inside ceiling fans – http://wonderwhatsinside.blogspot.com/2012/10/inside-ceiling-fan.html
[118] Mega Bobinadeiras – Bobinadeira de motores de ventilador de teto – http://www.youtube.com/watch?v=0BqYzqr4-1E
[119] GMR – Bobinadeira de motores de ventiladores de teto – http://www.youtube.com/watch?v=9Pby6GdPtbE
[120] Freescale – Ceiling Fan Speed Control – http://cache.freescale.com/files/microcontrollers/doc/app_note/AN3471.pdf
[121] ECN – Electrical Contractor Network Forum – 1 phase motors – http://www.electrical-contractor.net/forums/ubbthreads.php/topics/148648/1_Phase_Motor_Drawings_1.html
[122] Schematic.pics – Ceiling Fan Speed Control – http://www.freeinfosociety.com/electronics/schemview.php?id=1591
[123] Electrical Forensics – Ceiling Fans – http://www.electrical-forensics.com/CeilingFans/CeilingFans.html
[124] Ceiling Fans ‘N’ more – Ceiling Fans Capacitors – Diagnosis & Replacement – http://www.ceiling-fans-n-more.com/ceiling-fan-capacitors.php
[125] Hemant Pant – Calculate the Value of Capacitor fou Your Ceiling Fan – http://www.youtube.com/watch?v=0RbbwY9vvs0
[126] Hemant Pamt – Your Ceiling Fan Without Capacitor – https://www.youtube.com/watch?v=ZbbOftUs0tQ
[127] Jestine Yong – Panasonic Ceiling Fan Repaired – http://www.jestineyong.com/panasonic-ceiling-fan-repaired-part-2/
http://www.jestineyong.com/panasonic-ceiling-fan-repair/
[128] Conscius Junkyard – Ceiling Fan Capacitor Solutions – http://kenklaser.gaiastream.com/2007/12/28/ceiling-fan-capacitor-solutions/
[129] Nova Exaustores – Loja online de capacitores para ventiladores de teto e exaustores – http://www.novaexaustores.com.br/ecommerce_site/produto_34219_5763_Capacitor-para-Ventilador-de-Teto-e-Exaustor
[130] Cinco – Capacitores para ventilador – http://www.capacitores.net/capacitores-para-ventilador.html
[131] Leroy Merlin – Capacitor para ventilador – http://www.leroymerlin.com.br/capacitor-para-ventilador-6-3-mf–250v_87940433
[132] Casa dos Relés – Capacitor de partida – https://www.lojacasadosreles.com.br/Capacitor-partida-3-FIOS-6-4MF-X-250V-FIO-/prod-2211542/
[133] Proesi Componentes Eletrônicos – http://proesi.com.br/componentes-eletronicos/capacitor-polipropileno.html
[134] INMETRO – Ventiladores de teto 127V – http://www.inmetro.gov.br/consumidor/pbe/ventiladores_de_teto_127v.pdf
[135] INMETRO – Ventiladores de teto 220V – http://www.inmetro.gov.br/consumidor/pbe/ventiladores_de_teto_220v.pdf
[136] Guia Casa Eficiente – Melhores ventiladores de teto – http://www.guiacasaeficiente.com/Arrefecimento/Melhoresventiladoresteto.html
[137] Energy Star – Most Efficient 2014 Ceiling Fans Under 52 Inches – http://www.energystar.gov/index.cfm?c=most_efficient.me_ceiling_fans_under_52_inches
[138] All Modern – View All Ceiling Fans Energy Star Rated +UL Listed – http://www.allmodern.com/filters/View-All-Ceiling-Fans-l230-c477107-O1854~Energy+Star+Rated-O1854~UL+Listed.html
[139] – Wayfair – All Ceiling fans – http://www.wayfair.com/All-Ceiling-Fans-l230-c1786439-O1854~UL+Listed.html
[140] Dicas do Gilson Eletricista – Qual o melhor ventilador de teto – http://dicasdogilsoneletricista.blogspot.com/2012/12/qual-o-melhor-ventilador-de-teto.html
[141] Via Vento – O que você deve saber antes de comprar um ventilador de teto – http://www.viavento.com.br/intro2.php
[142] Revista Pense Imóveis – Escolha do ventilador depende do motor e do número de pás – http://revista.penseimoveis.com.br/noticia/2010/09/escolha-do-ventilador-depende-do-motor-e-do-numero-de-pas-3054501.html
[143] HiperJN – Dicas, ventilação e ventiladores! – http://www.hiperjn.com.br/?menu=ver_dica&dica=23
[144] ABNT – Catálogo, visualização gratuita da norma ABNT 14532 e outras (precisa java atualizado) – http://www.abntcatalogo.com.br/norma.aspx?ID=60526
[145] INMETRO – Ventiladores de teto – http://www.inmetro.gov.br/consumidor/produtos/ventilador2.asp
[146] SINDAL – Catálogo de produtos – http://www.sindal.com.br/uploads/catalogo.pdf
[147] Mudah – Panasonic, KDK Ceiling Fan (Remote Control Module) –
http://www.mudah.my/Panasonic+KDK+Ceiling+Fan+Remote+Control+Module+-24138040.htm
[148] Panasonic – Ceiling Fan F-M14C8 WT – http://www.panasonic.com/my/consumer/home-appliances/indoor-air-quality/ceiling-fan/f-m14c8-wt.html
[149] Devon Buy – How to install a Panasonic Selinig fan – part 1 – http://www.devonbuy.com/how-to-install-a-panasonic-ceiling-fan/
[150] Fanimation – Fans – http://www.fanimation.com/
[151] Gerbar – Representante Fanimation no Brasil – http://www.gerbar.com.br/site/
[152] Hunter – Ventiladores de teto – http://www.hunterfan.com.br/
[153] Ceiling Fan – Ceiling fans (loja de ventiladores de teto) – http://www.ceilingfan.com/
[154] Lamps Plus – Ceiling Fan Quality – Parts Make a Difference – http://www.lampsplus.com/info-center/b/advice-and-tips/archive/2012/02/01/ceiling-fan-quality-parts-make-a-difference.aspx
[155] Del Mar Fans – Motor Rating – http://www.delmarfans.com/product_rating.cfm
[156] Seek Digital Library – Energy Efficient Ceiling Fans Using BLDC Motors – A Practical Implementation – http://seekdl.org/nm.php?id=28
[157] Aeratron – Energy Saving in use with AC/Heating – http://aeratron.org/residential-fans-use-with-ac-heating/
[158] Aeratron – User Manual 2013 – http://aeratron.org/uploads/USER_MANUAL_2013_V1.pdf
[159] Ceiling Fans Direct – Six Innovative Ceiling Fans Designs – https://www.ceilingfansdirect.com.au/wp-blog/news/ceiling-fans/six-innovative-ceiling-fan-designs
[160] Minhateca – Gildo Montenegro – Ventilação e Cobertas: Estudo teórico, histórico e descontraído – 1984 – http://minhateca.com.br/edianeparanhos/leitura/Ventilacao+e+Coberturas+-+Gildo+Montenegro,21151869.pdf
\ep/



![Figura 2 – Animação ilustrando como se origina uma onda senoidal. Fonte: Atlantico [1].](https://dicasdozebio.com/wp-content/uploads/2014/12/fig2-gif4.gif?w=595)





![Figura 9 – Modelo de capacitor bobinado. Fonte: University of St-Andrews [26].](https://dicasdozebio.com/wp-content/uploads/2014/12/fig9-captype3.jpg?w=595)






![Figura 20 – Processo de perfuração do dielétrico. Fonte Powerguru [42].](https://dicasdozebio.com/wp-content/uploads/2014/12/fig20-self-healing-film-capacitor.png?w=595&h=372)
![Figura 21– Furo em superfície metalizada de capacitor. Fonte: Wima [43].](https://dicasdozebio.com/wp-content/uploads/2014/12/fig21-wima-article4.jpg?w=595)
![Figura 22 – Furo em superfície metalizada de capacitor. Fonte: Era Technology [44].](https://dicasdozebio.com/wp-content/uploads/2014/12/fig22-failure-in-metallised-1.png?w=595)
![Figura 23 – Picos de ressonância de um circuito RLC, com R variável. Fonte: MPSC [49].](https://dicasdozebio.com/wp-content/uploads/2014/12/fig23-ac_ress005.png?w=595)
![Figura 27 – Exemplo de velocímetro. Fonte: Sapiensman [58].](https://dicasdozebio.com/wp-content/uploads/2014/12/fig27-velocimetro.jpg?w=595)
![Figura 28 – Configuração para visualizar as figuras de Lissajous. Fonte: ITA [60].](https://dicasdozebio.com/wp-content/uploads/2014/12/fig28-configurac3a7c3a3olissajousita.jpg?w=595&h=340)

![Figura 33 – Enrolamentos do estator em motor de indução trifásico. Fonte: Ibiblio [67].](https://dicasdozebio.com/wp-content/uploads/2014/12/fig33-estatortrifasico.jpg?w=595)
![Figura 37 – Curtos-circuitos de enrolamentos em motores de indução. Fonte: IFRN - WEG [71].](https://dicasdozebio.com/wp-content/uploads/2014/12/fig37-defeitos-enrolamtsprincaux.jpg?w=595&h=417)
![Figura 38 – Circuito do motor de fase dividida. Fonte: UFPEL [72].](https://dicasdozebio.com/wp-content/uploads/2014/12/fig38-motorfasedividida.jpg?w=595&h=266)

![Figura 41 - Motor de indução WEG com capacitor de partida. Fonte: HD Equipamentos [73].](https://dicasdozebio.com/wp-content/uploads/2014/12/fig41-motorweg-cappartida.jpg?w=595&h=463)
![Figura 42 – Circuito do motor com capacitor permanente. Fonte: UFPEL [72].](https://dicasdozebio.com/wp-content/uploads/2014/12/fig42-motorcapacitorpermanente.jpg?w=595&h=248)
![Figura 45 – Circuito do motor de duplo capacitor (permanente e de partida). Fonte: UFPEL [72].](https://dicasdozebio.com/wp-content/uploads/2014/12/fig45-motorcapacitores-permpart.jpg?w=595&h=213)
![Figura 46 – Motor monofásico de duplo capacitor, para uso rural. Fonte: IFRN - WEG [71].](https://dicasdozebio.com/wp-content/uploads/2014/12/fig46-motorwegrural-brasil-g.jpg?w=595)
![Figura 47 – Diagrama do motor de polo sombreado. Fonte: Johnson Electric [7].](https://dicasdozebio.com/wp-content/uploads/2014/12/fig47-shaded-pole-motors-05.jpg?w=595)
![Figura 48 – Funcionamento do motor de polo sombreado. Fonte: UFES [78].](https://dicasdozebio.com/wp-content/uploads/2014/12/fig48-motorpolosombreado-funcionamento.jpg?w=595&h=404)






![Figura 57 – Modo de ligação e forma construtiva do medidor de KWh. Fonte: Electronic Design [82].](https://dicasdozebio.com/wp-content/uploads/2014/12/fig57-59476_fig_04ed.jpg?w=595&h=427)
![Figura 58 – Medidor de consumo de energia elétrica. Fonte Electrical-Engineering Portal[83].](https://dicasdozebio.com/wp-content/uploads/2014/12/fig58-single-phase-induction-kilo-watt-hour-meter-construction.jpg?w=595)
![Figura 61 - Bobinas de corrente removidas do motor. Fonte: Popular Science [84].](https://dicasdozebio.com/wp-content/uploads/2014/12/fig61-field_coils_removed.jpg?w=595&h=446)
![Figura 64 – Distribuição de bobinas de modo espalhado num estator trifásico. Fonte: Ibiblio [67].](https://dicasdozebio.com/wp-content/uploads/2014/12/fig64-disposic3a7c3a3obobinasmotor02432.png?w=595)
![Figura 68 – Defeito em motor de indução (rotor travado). Fonte IFRN – WEG [71].](https://dicasdozebio.com/wp-content/uploads/2014/12/fig68-defeito-rotortravado.jpg?w=219&h=300)

![Figura 71 – Curva que aponta onde fica cada conjugado. Fonte: IFSC [98].](https://dicasdozebio.com/wp-content/uploads/2014/12/fig71-curvalegendaconjugados.jpg?w=595&h=521)
![Figura 73 – Curva de conjugado de carga e escorregamento. Fonte: UFES [78].](https://dicasdozebio.com/wp-content/uploads/2014/12/fig73-conjugadorotacao.jpg?w=595&h=383)

![Figura 77 – Vista explodida de um ventilador de teto. Fonte: Google Patents [115].](https://dicasdozebio.com/wp-content/uploads/2014/12/fig77-us06798098-20040928-d00003.png?w=512&h=1024)
![Figura 78 – Vista em corte de ventilador de teto, com legenda. Fonte: Popular Mechanics [116].](https://dicasdozebio.com/wp-content/uploads/2014/12/fig78-ceiling-fan-02-0711-de.jpg?w=595&h=307)
![Figura 79 – Estator de 12 polos de ventilador de teto. Fonte: Wonder Whats Inside [117].](https://dicasdozebio.com/wp-content/uploads/2014/12/fig79-dscn2692.jpg?w=595&h=446)
![Figura 80 – Rotor de ventilador de teto. Fonte: Wonder Whats Inside [117].](https://dicasdozebio.com/wp-content/uploads/2014/12/fig80-dscn2687ed.jpg?w=595&h=446)
![Figura 81 - Conjugado de motor de indução conforme a tensão de alimentação. Fonte: Ibiblio [71].](https://dicasdozebio.com/wp-content/uploads/2014/12/fig81-conjugadoxtensc3a3oentradapt.jpg?w=595&h=257)




![Figura 93 – Ventilador Panasonic Bayu F-M14C8 WT. Fonte: Mudah [147].](https://dicasdozebio.com/wp-content/uploads/2014/12/fig93-mudah-my-1722726963.jpg?w=595&h=446)


![Figura 97 – Ventilador Fanimation Punkah. Fonte: Fanimation [150].](https://dicasdozebio.com/wp-content/uploads/2014/12/fig97-fanimation-1227.jpg?w=595&h=177)
![Figura 98 – Ventilador Fanimation Brewmaster. Fonte: Fanimation [150].](https://dicasdozebio.com/wp-content/uploads/2014/12/fig98-fanimation-743.jpg?w=595&h=227)
![Figura 99 – Ventilador Fanimation Enigma. Fonte: Fanimation [150].](https://dicasdozebio.com/wp-content/uploads/2014/12/fig99-fanimation-488.jpg?w=595&h=284)
![Figura 100 – Ventilador Fanimation Odyn. Fonte: Fanimation [150].](https://dicasdozebio.com/wp-content/uploads/2014/12/fig100-fanimation-4382.jpg?w=595&h=226)
artigo muito bom e rico em detalhes, obrigada por compartilhar conosco!
só fiquei com uma dúvida quanto ao funcionamento da parte de reversão do motor, entendo que em teoria seria só inverter uma das bobinas, mas analisando a ligação desses espelhos com luz , velocidade, e reversão por ex: (https://3.bp.blogspot.com/-4M7a5-T_LVw/UAhehBUaXVI/AAAAAAAAAoY/PvsQrTO5uBw/w1200-h630-p-k-no-nu/002.jpg). Me parece que ao mudar a chave para “exaustor”ou”ventilador” muda o sentido da corrente que passa pelos capacitores em paralelo, e também muda a bobina que será alimentada via a chave de comando, porém o sentido da corrente em ambas bobinas me parece ser o mesmo, teria como me esclarecer como o rotor é induzido a girar reversamente nesse caso?, ou se vc conhece algum site que mostre o esquema de ligação desses espelhos detalhadamente, esses que você acha pela internet, em em manuais dos ventiladores não mostram com detalhes, somente por padrões de cor dos cabos.
Att!
Isabelly, nesta imagem que colocaste, suponho que a primeira chave, mais abaixo, seria a da velocidade, a do meio a reversão e a de cima a luz do ventilador. Nesse caso, os contatos da chave podem não estar na sequência que imaginaríamos normalmente, por isso reolhe os esquemas de ligação do capacitor nas figuras 83 e 84, que devem ser autoexplicativas.
muito bom esse artigo! Realmente agregou muito
encontrei esse site com vários modelos de ventilador industrial https://www.luftmaxi.com.br/produtos-ventilador-axial-industrial.html
https://www.luftmaxi.com.br
Rafael, obrigado pelas palavras de apoio e pela dica!
Parabéns Zébio, seu texto é uma viagem pela eletrônica, trabalho de mestre. Encontrei-o buscando uma solução para um problema que criei ao substituir as lâmpadas do ventilador de teto por painel LED, o painel permanece com uma pequena iluminação quando desligado e com o ventilador funcionando, acredito ser por indução pois mesmo desligando o fio de retorno( fase) na chave ele se mantém ligado.
Carlos, certamente a tensão induzida na fiação faz isso, e a lâmpada LED consegue funcionar somente com uma fração da corrente nominal. Uma rede RC em paralelo com a lâmpada poderia resolver isso, tipo um resistor de 330K /1Watt ligado em paralelo com um capacitor de 100nF/630V, provavelmente eles conseguirão bloquear a tensão residual.
Mas mesmo assim, seria bom certificar-se que não há fuga de energia em algum ponto, porque instalações elétricas antigas podem ocultar sérios problemas, como um fio parcialmente desencapado encostando na parte metálica do bastidor embutido.ou de um conduíte. Os fios antigos, que eram rígidos internamente, podiam fazer isso, na passagem por canos estreitos.
Um DDR (Disjuntor Diferencial Residual), ligado na entrada da rede elétrica de casa, poderia identificar se há alguma fuga, porque ele monitora a corrente que entra e a que retorna, e desliga caso a diferença seja maior do que 30mA. Apesar de obrigatório nas instalações elétricas, é pouco instalado devido ao alto custo. Mas salva vidas, o desligamento ocorre antes do choque ser fatal.
Nossa, fiquei impressionado com a clareza e a riqueza de detalhes que você tão gentilmente nos oferece. Material didático de ótima qualidade. Parabéns Zébio e muito obrigado por dividir conosco essas preciosas informações.
Mauro, obrigado pelas palavras de apoio, espero continuar a fazer jus aos elogios, aguarde novidades!
Bom dia
Tenho um ventilador de teto de correntinha que está com a fiação que sai do motor solta (6 fios, amarelo, azul, roxo, vermelho, cinza e marrom) e gostaria de fazer uma ligação por controle de parede. Como posso fazer isto?
Francisco, observe que na figura 84, especialmente, tem um esquema genérico de ventilador de teto de correntinha. Você precisará testar quais fios são da lâmpada do lustre (2), quais são da chave (4) e quais são do motor (4). Há fios que são comuns a mais de uma ligação, como o neutro. Neste tipo de motor é o capacitor duplo que determina a velocidade de rotação. A chave seletora apenas escolhe se vai ligar um, outro ou os dois capacitores em paralelo, o que resulta em 3 velocidades (a última posição é desligado).
As placas de controle geralmente colocam o capacitor junto da chave seletora, na parede, o que facilita a troca e diminui a quantidade de fios.
Na figura 82 tem um esquema de controle eletrônico, que também pode ser interessante montar, apenas precisa ajustar a rotação com o ventilador já montado.
Texto ótimo! Bem simples, fácil leitura e compreensão. Parabéns!!!
Benjamim, muito obrigado pela leitura, seja bemvindo ao blog!
Bom dia, tenho um ventilador de teto home line com 6 fios (dois de lampada e 4 do motor) com controle de 3 velocidades no espelho 4×2 e reverso no botão no corpo do mesmo. quero modificar para controle total no espelho com um dias (liga e velocidades) e botão de reverso abaixo. Como alterar a ligação para tal?
Ernesto, observe as figuras 83 e 84, que mostram as ligações internas de ventiladores de teto. A solução mais simples seria levar os 4 fios diretamente do motor, mais 1 da lâmpada, até o painel de controle na parede. Um dos fios do motor seria o neutro, utilizado também para a lâmpada. Estou considerando que você tem um fio fase na parede. Se não tiver, precisa mais um fio até o painel da parede, vindo do teto, com o polo fase.
O reverso é bem simples, é só inverter uma das bobinas do motor.
A velocidade geralmente é modificada pelo valor do capacitor, que no caso de 2 capacitores, permitiria 3 velocidades (capacitor menor, capacitor maior, os dois capacitores em paralelo).
No artigo eu explico isso detalhadamente, mas é importante que leia o texto sobre o funcionamento dos motores, daí você compreenderá mais facilmente o restante.
Bom dia. Muito bom seu site. Posso tirar uma dúvida com você? Instalei um ventilador de teto e o mesmo gira normalmente no sentido da exaustão, porém no sentido da ventilação ele gira muito lentamente, quase nada. Testei dois capacitores diferentes, tentei inverter o fio do capacitor e nada. Saberia o que pode ser? Desde já agradeço.
Marcos, a rotação deveria ser a mesma para qualquer lado, pois é só inverter um dos enrolamentos, para dar a partida em sentido contrário. Cuide se todas as ligações estão corretas e se realmente os capacitores estão com os valores nominais. Na dúvida, olhe os esquemas de ligação de alguns ventiladores de teto, no final do artigo.
Muito bom .
Bom dia Zébio! Me dê uma ajuda por favor, porque nem a assistência técnica da Arno nem o SAC dela tem conhecimento suficiente para me esclarecer um ponto.
Tenho o Ventilador Teto Ultimate Silver 3 Pás VX12 – 110V. De acordo com o manual, as lâmpadas recomendadas são “máximo de 2 lâmpadas de 60w incandescentes ou duas lâmpadas de 25w fluorescentes/econômicas”. Como essas lâmpadas possuem uma baixíssima quantidade de lúmens, o quarto fica meio escuro. Dessa forma, gostaria de instalar duas lâmpadas LED de 16w espirais bivolt.
Entretanto, a assistência técnica e o SAC da Arno dizem que isso não é recomendado porque o aparelho entregaria uma potência maior que 16w para as lâmpadas e elas queimariam rapidamente.
Isso não fez muito sentido para mim e não conseguiram aprofundar a explicação. Qual sua opinião e, se possível, solução?
Hugo,o ventilador de teto não tem conexão direta com as lâmpadas, o interruptor no painel da parede que liga as lâmpadas apenas faz isso: liga e desliga a luz.
Inclusive, lâmpadas incandescentes queimam frequentemente em ventiladores de teto, por causa do filamento que amolece quando ligado. Mais a vibração do motor, já viu.
O limite de potência de 60W é para as antigas lâmpadas incandescentes, que aqueciam muito. Apesar dos LEDs também aquecerem, não chega nem perto das incandescentes, por isso poderia, em princípio, instalar lâmpadas LED de 16W, digamos.
Mas, o problema do aquecimento da lâmpada LED é que o lustre NÃO PODE SEER FECHADO, senão a lâmpada LED queima. Lustres tipo lampião são perfeitos, pois são feitos para escoarem o calor. Mas aqueles que não dispõe de aberturas para a ventilação, darão problemas. Espero que tenha sanado suas dúvidas.
Entendi Zébio, muitíssimo obrigado. Sanou todas minhas dúvidas.
Infelizmente estou tendo problemas de barulho nesse ventilador. Ele era pra ser super silencioso mas está fazendo um barulho irritante e o pessoal da assistência técnica não parecia saber o que era. Apenas falaram que só seria resolvido se trocasse o motor (280 reais). A pior parte é que não conheço um profissional sequer que consiga resolver isso, não achei nada na internet. Talvez tenha que comprar outro ventilador mesmo.
Abraço, boa semana!
Hugo, em princípio, se o motor funciona, seria necessário somente trocar os rolamentos, eles tem tamanho padronizado e podem ser trocados em uma oficina mecânica ou uma eletrotécnica, que enrola motores. Eles tem prensa hidráulica para fazer a desmontagem e remontagem, é um serviço relativamente barato.
Eu já tive problemas assim, é como se houvesse areia no eixo. Resolvi parcialmente, colocando óleo desengripante, mas o melhor mesmo é trocar os 2 rolamentos.
Observe a figura 77, para mais detalhes sobre a localização deles. Seu ventilador de teto deve ser parecido.
O barulho também poderia ser devido a alguma coisa raspando no rotor, isso seria fácil de verificar, desligando ele e girando as pás com a mão. Mas ao menos isso a assistência deve ter verificado.
Entendi, então ainda tem esperança! Show, vou procurar essas oficinas pra resolver por completo. Se não der, vou pelo caminho do óleo desengripante. Te aviso quando tiver avanços. Obrigado!
Muito bom o artigo. Parabéns.
José, muito obrigado pelas palavras de apoio.
Muita informação
Ler toda esta página vc sai um Eletrotécnico
Kkkk
Abraços tudo de bom
Olá, Renam, obrigado pela força! Mas para eletrotécnico precisa mais…
Boa tarde, parabéns pelo excelente texto e obrigado por compartilhar o seu conhecimento. Desmontei o ventilador de teto do quarto do meu filho, lubrifiquei e ressoldei 2 fios soltos, medi os 3 com o multímetro e aparente mente estão ok. São 2 fios verdes e um preto. Remontei e está pronto para recolocá-lo. Não o fiz porque notei que há resistência menor que infinito entre cada um dos 3 fios e a carcaça. No meu multímetro analógico velho parece ser 10 M ohm (mega ohm), quase não dá pra ver o ponteiro se mexer. Mas deve haver uma corrente de fuga. Vc acha que isto é tolerável?
Mauro, acho que 10M é tolerável, visto que alguns reatores eletromagnéticos de fluorescentes tinham um resistor com este valor, ligado à carcaça. Obviamente, haverá uma fuga, mas pela lei de Ohm, ela será muito baixa (I=V/R).
Boa noite,tenho um ventilador marca Latino e o mesmo apresentou baixa rotação troquei o capacitor acreditando ser ele o responsável porem nada mudou hoje ele não gira mais imanta o motor quando troquei o capacitor não encontrando o mesmo coloquei outro mesmo uf só com tensão inferior ou seja de 400v para 250v poderár ser este o defeito ou o defeito devera esta no modulo controle remoto de 127v meu mudulo e bem parecido com o da fig 96.Att: agradeço as orientações possíveis.
Luiz, eu ainda testaria o capacitor com um capacímetro, pois pode ocorrer de ele ter perdido a capacitância, devido à tensão de trabalho mais baixa.
Se ele faz barulho ao ligar, tente girar a hélice e cuide se a rotação se mantém. Se a rotação ficar ok, é o capacitor.
Ou, já que o ventilador é de controle remoto, pode ter algum relé que faz a troca de velocidade e tenha travado os contatos.
Olá. Tenho um modulo de controle de ventilador de controle remoto por dimmer. Gostaria de saber quais marcas ou modelos que são compatíveis. No site do fabricante do modulo diz que serve em qualquer ventilador. Mas será verdade?
Lucas, se você olhar no final do artigo, tem alguns esquemas de controles eletrônicos, eles são bem simples, basicamente usam um triac que recorta a onda senoidal da rede elétrica, diminuindo a tensão. Em princípio, funcionam em qualquer modelo que use motor de indução, inclusive nos ventiladores de mesa. O único problema é o ruído eletromagnético, pois esses dispositivos geralmente não tem filtros, o que pode dificultar a recepção de rádio no recinto, especialmente a faixa de AM.
Zébio, parabéns pela forma inteligente e didática por meio da qual transmite seus conhecimentos! Estou com uma dúvida… tenho um ventilador de teto, o Latina, modelo VT355 (com luminária). No controle da parede, original, ele possui um capacitor 2,5uf + 3,5uf e alguns resistores. Sempre funcionou silenciosamente. Quando mudei para instalação para controle remoto ele começou a zumbir. Utilizo o mesmo capacitor, porém, sem resistores. Seria esse o motivo do zumbido?
Angelo, não conheço ventiladores que utilizam resistores junto aos capacitores, mas provavelmente é uma forma de casar os capacitores com o motor. Creio que seria interessante manter a ligação, pois o zumbido geralmente indica alto percentual de escorregamento (velocidade real muito abaixo da ideal).
Muito bom o artigo! Verdadeiro curso!
Obrigado, Valdemar, é compensador ver o esforço reconhecido!
Eletricista Residencial e Preidal em Salvador,Lauro de Freitas e Estrada do coco Bahia
Tel: (71) 4113-1825 ou (71) 99111-2954 Whatsapp
Eletricista fazendo instalação elétrica
Aumento de carga elétrica
Instalação e Conserto de Ventilador de Teto
Conserto e Instalação de Campainha
Conserto e Instalação de Sensor de Presença
Conserto e Instalação de Tomadas
Construção de Aterramento Elétrico
Entrada de energia Padrão Coelba
Serviços Elétricos de Iluminação em Geral
Iluminação comercial (luminosos e fachadas)
Iluminação decorativa (de gesso, fachadas de sobrepor, eventos, indústrias etc.)
Iluminação Residencial
Instalação de Disjuntor
Instalação de foto células
Instalação de Quadro de Comando Geral
Instalação de Rede Elétrica Residencial
Instalação de Ventilador de Teto
Instalação Elétrica para AR Condicionado Split
Instalação e manutenção elétrica em geral
Instalação Elétrica para Ar Condicionado
Instalação, Reparo e Conserto de Chuveiro Elétrico
Serviços Elétricos de Manutenção Preventiva
Manutenção Elétrica Comercial
Preparação de Padrão de Entrada
Ligue:(71) 4113-1825 ou (71) 99111-2954 Whatsapp
Zébio, boa tarde e parabéns por sua página.
Gostaria de uma mini-consultoria sua, pois moro em um apartamento onde os banheiros utilizam exaustores de teto. Moro desde 2013, e desde então, já troquei o exaustor por duas oportunidades. Um durou 2 anos e meio e o outro 1 ano e 3 meses. Por coincidência, os exaustores são da marca Cata. Já revi a parte elétrica do banheiro, a vazão necessária e tudo ok. estou, de qualquer forma, trocando de marca, e estarei migrando para a Ventisol ou Ventokit. Você teria alguma experiência com estas marcas? Sabe me dizer qual a vida útil média destes exaustores de banheiro?
Estou revendo a parte elétrica, especificamente a derivação da linha, pelo fato do mesmo ramal abastecer as lâmpadas do benheiro e o exaustor. Acha esta revisão válida? Obrigado.
Adriano, as ventoinhas que conheço são principalmente de equipamentos elétricos, como no-breaks e estabilizadores de grande porte. Posso dizer que a Ventisilva é de boa qualidade (não sei se a linha Canário 150 ou 120, indicada para seu caso, também é). As marcas que você citou eu não conheço.
O problema parece ser o uso contínuo. Neste caso, o motor deveria ter eixo com rolamentos (ball bearing), não com bucha sinterizada (sleeve bearing), como são os mais baratos.
O que ocorre é que a bucha sinterizada é um metal poroso, que tem lubrificação a partir de uma arruela de feltro embebida em óleo, junto da bucha, ou, se for mais simples ainda, com grafite nos poros do metal sinterizado. Qualquer tipo de bucha tem um desgaste com o tempo e começa a aparecer folga, ou pior, trava o eixo devido à umidade e aquecimento.
A única solução de boa qualidade é procurar ventiladores com rolamentos nas duas pontas do eixo do motor. Já vi ventoinhas ficarem mais de 10 anos, ligadas direto (24 horas por dia), para só então começarem a fazer barulho. No caso do banheiro, pode ser que a umidade seja mais danosa e encurte este tempo. A ventoinha mais adequada para estes casos é de materiais plásticos, não de alumínio.
Se a ventoinha é desligada quando o banheiro não é usado, então ela deveria durar muito mais tempo.
Eu nunca vi um texto tão completo e tão bem escrito sobre um assunto que geralmente você só acha pessoal falando de forma empírica, sem nenhum embasamento teórico, o que vemos de sobra nesse texto. Parabéns, me ajudou a entender como eu precisaria proceder para a substituição dos meus capacitores. Obrigado
Parabéns Eusebio, pelo trabalho.
Estou com o mesmo problema do Lucas, comprei um ventilador 130w e resolvi fazer a instalação com controle remoto, mas acontece que no controle de parede veio instalado um capacitor de cinco fios com as seguintes capacitâncias 4.5mF – 3.5mF – 8mF e para fazer a ligação do receptor precisava de um capacitor de apenas dois fios. Utilizei um capacitor de 10mF por não encontrar um de 8mF, resultado funcionou por um dia e depois cheirou queimado e parou, então eu testei o capacitor e o mesmo está funcionando perfeitamente.
Gostaria de saber qual seria o capacitor indicado para esta instalação?
Jesiel, releia o texto, há um lugar onde comento sobre o valor do capacitor. Não pode ser muito diferente do original. Se o valor for alto demais, pode ocorrer ressonância com a bobina auxiliar, queimando-a. Não sei se foi isso que ocorreu, mas é uma sugestão. Quanto ao capacitor múltiplo, seria possível utilizar aquele de valor de 8uF, isolando os outros fios?
Uma observação. Evite indicar a capacitância como mF, pois significa miliFarad. Nós estamos trabalhando com uF (microFarad, um valor mil vezes menor), que usa a letra grega mi, que é um U com perninha. O Sistema Internacional de Unidades utiliza a letra mi para um milionésimo (micro), assim o u minúsculo é o mais parecido.
Obrigado pela dica de como indicar a capacitância.
Sobre usar o capacitor de 8uF isolando os outros fios acredito que é possível sim.
Entrei em contato com a Assistência Técnica e descobri que tem muitos clientes com esse mesmo problema, então vou enviar o ventilador para eles analisar.
Obrigado.
ótimo texto. Parabéns.
Tenho um ventilador 130W com lampada.
Comprei um Controle Remoto Inteligente Para Ventiladores De Teto At1 e instalei no ventilador. Não funcionou. Aí troquei o capacitor (era um di 8,5uF, mas coloquei um de 10uF pq não achava o de 8,5). Tudo funcionou por algumas horas. Mas no dia seguinte, quando fui ligar pelo controle, o ventilador já não rodava mais. Agora fica fazendo aquele zunido, mas não dá partida. O que pode ter acontecido
Lucas, eu apostaria em defeito do capacitor. Tente girar a hélice com a mão, para ver se continua o movimento. Se continuar girando normalmente, o motor está bom e o capacitor de partida é o culpado. Senão, o motor pifou.
Também poderia ser o enrolamento de partida aberto, é raro mas acontece.
Eu troquei o capacitor. Coloquei um de 8uF. Não funcionou também. Será que o fato de ter usado um de 10uF causou queima no motor. Pois não liberou cheiro de queimado. Ou será q foi o controlador o responsável?
Lucas, olhe neste post os esquemas dos ventiladores de teto, desligue ele da rede e faça as medições. Pode ser uma coisa simples, tipo um fio que desconectou em algum ponto. Se não deu cheiro de queimado, provavelmente há alguma ligação interrompida.
Se ele ficou zumbindo por muito tempo, daí pode ter queimado lentamente, sem emitir cheiro.
Se for um ventilador com enrolamento principal e auxiliar (figura 84), o capacitor pode ser desligado e pode-se usar a mão para dar a partida. Ele gira se fizer isso?
Boa noite. Então, o ventilador gira com as maos, mas não mantém o movimento. Uma coisa q percebi foi q o zumbido eh mais ou menos intenso conforme a velocidade e principalmente se esta na posição ventilação ou exaustao.
Lucas, apesar de parecer que o motor está queimado, se ao girar o zumbido diminui, eu ficaria com problema no enrolamento auxiliar, que dá a partida e determina a velocidade, através do valor do capacitor. Primeiro, é necessário garantir que o capacitor tenha realmente a capacitância marcada no corpo, meça com um capacímetro. Segundo, siga o caminho da fiação do capacitor, que vai até o enrolamento auxiliar, deve encontrar algo aí, até, eventualmente, um enrolamento em curto.
Teimo com o capacitor, porque comigo, em 4 situações diferentes, ele sempre foi o culpado (3 ventiladores de teto e 1 máquina de lavar).
Cuide também se neste vai-e-vem de ligar o módulo de controle e os capacitores, não ficou algo desconectado, ou ligado incorretamente.
Então. Vou ter que retirar o ventilador do teto e desmontar. Verificar o enrolamento. Pois já testei 3 capacitores e nenhum funcionou. Pode ser também que seja o controlador remoto que eu comprei. Vou verificar.
Meus parabens excelente artigo , bem referenciado e muito bem explicado , Parabens.
Olá! Parabenizando seu trabalho, venho pedir uma ajuda. Tenho um ventilador pequeno de mesa, 220v. Minha rede elétrica é 110v. Tem alguma maneira de fazer reparo no motor e trocar para 110v?
Alderiva, motores de ventiladores pequenos geralmente não compensam, pois teria que reenrolar o motor. De todo modo, se o ventilador está bem lubrificado (a hélice gira bem solta), o ventilador poderá ser ligado em 110V, apenas vai ter uma partida lenta e a velocidade será bem mais baixa. A hélice não pode parar enquanto estiver ligado, porque isto significa curto-circuito para o motor, e ele queima.
Olá, Parabéns pelo trabalho brilhante.. Aproveitando gostaria de uma opinião técnica.
Tenho ventiladores de teto em quatro peças. Mod. Britânia. 220v. Há muitos anos, muito bons. Uns anos atrás começaram a diminuir a velocidade. Como conheço um pouquinho de elétrica imaginei trocar os capacitores de todos. Assim procedi e todos ficaram uma bala até hoje. O ventilador de uma peça de uns tempos pra cá começou a fazer um ringido e foi aumentando. Esta semana resolvi retirar e desmontar, após várias lubrificações no rolamento superior( onde é possível fazer com ele no lugar). Logo vi o defeito, era o rolamento inferior, tava travando. Bom , comprei um novo e coloquei após fiz a montagem normalmente. OBS: Ele tava funcionando muito bem e forte apenas o ringido que tava atrapalhando). Coloquei no lugar e aconteceu o seguinte: Lâmpada funcionando normal porém o ventilador ao ser acionado apenas fica zunbindo e começa a esquentar muito sem movimento nenhum das hélices. Revi a conexão elétrica, tudo certo. Desapertei um pouco os parafusos da carcaça tb não resolveu.
O que vc acha que pode ser? Pensei novamente no capacitor mas não quis trocar pois estava funcionando muito bem.
Desde já muito obrigado.
Ronaldo, esta é daquelas vezes em que funciona a Lei de Murphy: se alguma coisa puder dar errado, dará…
Provavelmente o capacitor estava nas últimas e foi-se…
Talvez o capacitor tenha recebido um surto mais forte e a partir daí o motor começou a zumbir e rodar lento.
Zébio, primeiramente parabenizo pelo trabalho que nos presta de forma tão clara e responsável. Um ventilador de parede modelo Venti Delta 170w bivolt 60cm tem me encucado pelo o que tem apresentado. Quando o coloco numa tensão 220v, ele roda uns 3 minutos, apresenta um cheiro de verniz muito forte e desliga. 1 minuto depois torna a ligar, ele ficaria neste processo se eu persistisse com ele ligado. Percebi que ele aquece muito além do normal. Em contra partida fiz um teste com ele na tensão de 127v, roda perfeitamente, aquece de forma normal, não apresenta cheiro de verniz queimado e não desliga. Ou seja funciona perfeitamente.Posso estar com um problema de enrolamento ?
Fladhe, se tivesse problema de enrolamento, creio que aqueceria em qualquer tensão. Talvez aconteça que o capacitor para o funcionamento está com um valor inadequado (talvez alto demais), e até entrando em ressonância com o enrolamento, o que pode causar a queima do motor.
O desligamento provavelmente é devido a alguma chave términa no enrolamento, que interrompe a energia quando passa de determinada temperatura (evita incêndios).
Bom dia!
Eu preciso de uma informação, por favor!
Tenho instalado um ventilador de teto, com controle remoto. O controle remoto não está operando, o eletricista disse que tinha “defeito”.
Mas, o controle pelo interruptor, com as duas velocidades e a iluminação, sempre funcionaram. Até ontem.
Houvi um leve estalo na tomada, ao ligar a luz. Mas, ligou, sem problemas, e voltou a ligar muitas outras vezes.
.
Mas, ontem, parou completamente. Iluminação e ventilação.
Tirei as lâmpadas e as testei fora, estão funcionando.
Verifiquei a chegada de energia junto ao soquete das lâmpadas, junto ao ventilador. A energia chega (ao manter ligado o interruptor na tomada).
Problema:
Nem ventilação e nem a iluminação funcionam. Abri a tomada e tudo parece normal. A corrente positiva chega no interruptor e vai até os soquetes no teto.
Mas, nada funciona.
Eletricistas por aqui são difíceis de encontrar e caros. Preciso de um diagnóstico para saber o que fazer. Talvez mais barato do que chamar o eletricista, seja comprar outro ventilador …
Obrigado!
2014jramos@gmail.com
Jorge, se a iluminação não funciona, mas as lâmpadas estão boas e recebem tensão adequadamente, quando é acionado o interruptor, o problema pode ser na continuação da ligação até o neutro. O neutro, inclusive, é o polo comum: une tanto o neutro do ventilador quanto o neutro das lâmpadas. Tem que seguir o caminho da corrente elétrica (comece no polo fase e siga até o momento em que chega no polo neutro da instalação predial). Alguma conexão com defeito irá aparecer.
Aliás, o que você chama de tomada é, na verdade o painel de comando do ventilador, certo?
Olá, meu latina Air control não estava rodando na ventilação, empurrei com a mão e foi… mas depois nem assim mais roda…. ao colocar na exaustão funciona normalmente, seria capacitor???
Certamente! Leia com atenção o artigo, onde explico o que acontece com os capacitores de ventiladores de teto, as causas de sua queima e os defeitos que capacitores danificados causam.
Espetacular!!! Parabéns pela excelência do conteúdo e pelo altruísmo no compartilhamento de seu conhecimento e trabalho !!!
Caro Euzébio, esta sua página veio a calhar como material suplementar para um curso de eletromagnetismo. Que beleza! Eu estava procurando saber como é que o sentido de rotação do meu ventilador de teto (que usa apenas dois fios pretos de ligação, acoplados a um capacitor) fica determinada, independente de como os dois fios são conectados entre a chave inversora e o ventilador. Ainda não saquei, mas agora tenho tudo isto que vem de voce para estudar. Obrigado.
Maurício, em algum lugar do texto você encontrará esta informação, esteja certo disso… Especialmente nas seções sobre os motores de indução.
Excelente artigo, nos tempos de hoje tão raro encontrar material de qualidade na net, quero te parabenizar pelo excelente texto.
Sou eletrotecnico a 18 anos e supervisiono uma equipe numa multinacional, e sempre leio material de eletrica na net, que deixam muito a desejar, seu material é maravilhoso, parabéns.
Prezado Eusébio, boa tarde.
Parabéns pelo seu trabalho.
Tenho uma duvida quanto a troca do capacitor do meu ventilador de teto, ele veio com um capacitor duplo 1,5uF / 2,5uF, conjugado a placa de acionamento.
Posso substituir por qual capacitor??
Eu percebo que tanto em baixa rotação como em alta rotação ele faz o barulho incomodo, zumbindo. a unica posição que nao faz é no máximo da ventilação, mas naos outra duas de ventilação e nas 3 de exaustão, o barulho é muito incomodo. tanto o capacitor quanto o ventilador são novos
Obrigado !
Fabio, mesmo sendo novo, o zumbido aparentemente é causado pelo valor muito baixo do capacitor, nos dois valores. Só fica melhor quando eles estão em paralelo (velocidade máxima), tanto faz se é exaustão ou ventilação.
Porque com os dois capacitores, consegue-se 3 valores: 1,5uF – 2,5uF – 4uF (quando os dois são ligados em paralelo).
Comentaste que a exaustão é barulhenta também, nas 3 velocidades. Daí, poderá ter problemas com enrolamentos em curto, ou com o trancamento do eixo, por exemplo, com os rolamentos sem lubrificação ou oxidados.
Ainda assim, eu testaria os capacitores primeiro, com um capacímetro para certificar que os valores estão corretos.
entendi Eusébio, mas como eu nao manjo nada disso, poderia me recomendar um capacitor para que eu compre o modelo correto? e de ante mão, agradeço o apoio a nós leigos…rs
Fabio, olhe a outra resposta, mas o capacitor para ventiladores é um componente facilmente encontrado em boas lojas de material elétrico, ele sempre vem com 3 fios, como mostrado no artigo.
detalhes do meu ventilador, para que vc possa , se possível, recomendar um capacitor correto:
Ventilador de Teto Ventisol Wind
1/6CV – 130w
Área de ventilação (m2) 20m²
Potência
Velocidade (rpm) 430 RPM
Fabio, não tenho como calcular o capacitor exato, até porque é um assunto tão complicado, como vi num vídeo do Youtube, que achei mais fácil testar por tentativa e erro. Os valores médios dos capacitores ficam entre 1 e 7 uF, mas cada caso é um caso. Talvez verificando um ventilador semelhante na casa de algum parente ou vizinho.
Parabens pelo seu trabalho. Parece um sacerdocio sua dedicação.
bom dia: a todos vocês gostei das dicas oferecidas muito praticas.
mas tenho um problema como e normalmente ligado o capacitor para ventilador de teto?
Joaquim, olhe para os esquemas dos ventiladores de teto, mais para o final do artigo, lá tem como fazer as ligações. Inclusive, no manual do seu ventilador de teto deve ter um desenho semelhante.
Gostei
Parabéns !!! muito obrigado pelo conteúdo … muito rico e didático NUNCA ví na net um artigo tão perfeito .
Muito obrigado por compartilhar ,
At. Clóvis
Fantástico! Sou leigo e relembrei/apliquei muito da física que aprendi. Muito didático! Parabéns!
Parabéns. É gratificante encontrar material didático produzido com esmero e tamanha riqueza de conceitos físicos.
Isso nos incentiva a seguir o exemplo e contribuir.
destaco também a preocupação em citar a fonte e permitir um aprofundamento.
Olá, Kleber, é mais ou menos como o Gandhi falava: seja a mudança que você deseja ver no mundo… Obrigado pela leitura!
muito bom,mas se houvesse meio de poder partilhar com outras pessoas seria muito melhor forte abraço.paz
Alfredo, desculpe não haver links para Facebook ou Linkedin, mas prefiro assim, pois já ocorreu de partilharem um artigo meu e o post entupiu de comentários sem utilidade. De todo modo, se você quiser partilhar, creio que há condições, ao final do artigo (você tem que estar no artigo, não na lista geral).
Adorei!!!
caro euzebio….ótimas explicações
estou com uma duvida de que meu ventilador de teto esta fazendo barulho e não gira o q pode ser?
obrigado pela compreenção
Leo, leia o artigo com cuidado, eu informo lá como avaliar e resolver estas possibilidades de defeito.
caro zebio, meu desejo e ver cálculo da bobina com números e fórmulas de bobinamento, seja o ventilador de teto ou mesa.
Edivaldo, dê uma olhada no link sobre o manual de enrolamento de motores, que coloquei no texto.
Prezado Eusébio, boa tarde.
Parabéns pelo seu trabalho.
Tenho uma duvida quanto a troca do capacitor do meu ventilador de teto, ele veio com um capacitor duplo 1,5uF / 2,5uF, conjugado a placa de acionamento. Posso substituir por um capacitor comum de 4uF ?
Eu percebo que a velocidade de ventilação e exaustão são lentas e ele produz um som (ressonância) em baixa rotação, tenho que liga-ló sempre na alta rotação para reduzir o barulho incomodo que ele faz.
Obrigado !
Mesias, se você trocar o capacitor duplo por um simples, você só terá uma velocidade, e com este valor, será bem mais alta que antes, o que fará o motor aquecer mais.
O zumbido é resultado da perda da capacitância, eu explico isto no artigo. Se for ruído no eixo, daí deverá verificar a lubrificação dos rolamentos.
muito bom meus parabéns
você usou os termos técnicos corretos explicou tudo certo
é difícil achar alguém aqui na internet que faça as coisas do jeito certo !!!!
Bom dia gostei muito desta aula, mais eu gostaria de lhe perguntar o meu ventilador de teto gira lento e vezes so com ajuda,lendo a sua aula pode ser o capacitor ,eu tirei o mesmo mas ele tem somente dois fios preto e capacidade dele 8.5 uf 10% 300v posso ,posso colocar um de10 uf,desde de ja agradeço por tudo que o senhor escreveu me ajude.
Manoel, o único efeito de colocar um capacitor de valor maior é o aumento da velocidade. Eu acho que 10uF ainda serviria, do mesmo modo que um capacitor de valor menor (que reduziria a velocidade máxima). O resultado final é a alteração da velocidade máxima.
Parabéns pelo excelente trabalho sou estudante do curso Técnico em Eletrotécnica e estava procurando apenas sobre a tensão em cima do motor do ventilador de parede e acabei encontrando este trabalho magnífico sobre o que eu estou estudando agora no curso enriqueceu e muito meus conhecimentos.
Muito bom, grande trabalho. Parabéns pelas colocações, amplitude que abordastes e pela riqueza de fontes. Material excelente.
Pesquisa impecável. Parabens!
Parabéns cara!!! ótimo material,trabalho muito bem feito.
Sr. Eusébio , Saudações !
Dentro da exposição da matéria sobre iluminação de emergência , encontrei a aplicação do transistor NPN como ” chave comutadora” entre duas fontes de energia distintas .É sobre essa aplicação comutadora a partir de um módulo ; dispositivo ; componente ou circuito que me interessa muito no momento .
A minha questão está em montar uma fonte de energia ininterrupta , utilizando uma fonte de alimentação Com tensão de entrada para 380 Vac à 3F +T+ N , por exemplo :
$ – SITOP 15 fabricada pela SIEMENS .
A minha escolha por esse tipo de fonte é que elas já possuem todo tipo de proteção , são robustas e compactas ( alta confiabilidade ) .
Então :
A finalidade dessa fonte é fornecer 24 Vcc ao circuito de carga , que possui 10 válvulas para fluido com bobinas de solenoide ( fabricante ASCA). É aqui nesse circuito que pretendo incluir através de comutação , seja por um módulo de potencia ou um circuito , uma tensão de 24 Vcc proveniente de um banco de baterias que já possui carregador e tudo .
Ou seja , desejo manter o circuito das solenoides alimentadas pela fonte de alimentação ,
ao haver falta ou interrupção de energia automaticamente o circuito de carga fica alimentado pela tensão que vem do banco de baterias , e ao retornar a energia , e o sistema elétrico for restabelecido as solenoides voltam a ser alimentadas pela fonte de alimentação , e as baterias entram em carga conforme a necessidade , sem serem introduzidas no circuito de carga .
Então o que devo usar para a comutação ?
Diodo Schottky
Diodos comuns ( como os utilizados em retificadores de solda elétrica )
Chave estática com SCRs , outros .
O Sr. pode me ajudar nessa questão, apontando os pros e os contras desse sistema e dando uma dica para a comutação ? .
OBS:
Realizei a montagem do circuito de iluminação de emergência justamente para testar a comutação e o mesmo funcionou perfeitamente e isso me alegrou muito pois já estava dando como perdido e a desistência era eminente.
Sem mais para o momento , agradeço desde já por sua atenção . Obrigado!
Evandro, teria que fazer um projeto específico, mas procure na internet circuitos de iluminação de emergência, podem lhe dar uma ideia.
Eu optaria por transistores MOSFET, já que a tensão de allimentação é baixa e eles são excelentes como chaves.
Mas realmente, você precisa de um projeto técnico, que não é a minha área.
Muito bom este material, obrigado pela sua dedicação nos esclarecimentos a todos.
Oi o meu ventilador tem um capacitor de 10uf 250V posso substituir por um de 11uf 250V
Vicente, é como foi abordado no artigo, valores até 1 uF não teriam problema.
Ainda mais considerando que você tem um de 10uF, que trocando por um de 11uF só iria alterar em 10% o valor original.
Imagine trocar um capacitor de 1,5uF por um de 2,5uF, a diferença de valor (e de velocidade) seria muito grande…
Se puder encontrar um capacitor com tensão de trabalho mais alta seria melhor, tipo 380 ou 440VCA. Assim, não queimaria tão cedo novamente. Claro, se ele couber no aparelho…
Parabéns Zébio, pela qualidade do trabalho. Ainda não li todo, mas já pude perceber o refinamento do mesmo. Salvei-o em PDF no meu PC para “degluti-lo” calmamente. Já li outros posts seus como o da caixa de som e gostei muito. Vou divulgá-lo.
Obrigado, Paulo, um Feliz 2015 a você e toda sua família!